Andr_k5 Опубліковано: 8 листопада 2012 Поділитись Опубліковано: 8 листопада 2012 Есть пару вопросиков... 1. На котле 1/2 дюйма, газовщики вывели кран 3/4. Вопрос можно ли использовать 1/2 дюйма гибкий шланг как для газовой плиты или надо 3/4 дюймовую гофру из нержавейки? 2. Выход/вход воды на отопление внутренний диаметр трубки ~12 мм, есть ли смысл для разводки отопления тянуть 25 трубу или достаточно 20 ? Посилання на коментар Поділитися на інших сайтах More sharing options...
Interso Опубліковано: 8 листопада 2012 Поділитись Опубліковано: 8 листопада 2012 Есть пару вопросиков... 1. На котле 1/2 дюйма, газовщики вывели кран 3/4. Вопрос можно ли использовать 1/2 дюйма гибкий шланг как для газовой плиты или надо 3/4 дюймовую гофру из нержавейки? 2. Выход/вход воды на отопление внутренний диаметр трубки ~12 мм, есть ли смысл для разводки отопления тянуть 25 трубу или достаточно 20 ? 1.Обычно газовщики выводят под газ котёл 3/4.Ставите газовый фильтр на 3/4 а дальше от него можете спокойно перейти на 1/2. 2.Да, сначала от котла делаете розводку 25мм а дальше переходите на 20мм. 1 Посилання на коментар Поділитися на інших сайтах More sharing options...
Andr_k5 Опубліковано: 8 листопада 2012 Автор Поділитись Опубліковано: 8 листопада 2012 Фильтр стоит перед счетчиком, что на котел нужен доп фильтр? Посилання на коментар Поділитися на інших сайтах More sharing options...
Interso Опубліковано: 8 листопада 2012 Поділитись Опубліковано: 8 листопада 2012 Фильтр стоит перед счетчиком, что на котел нужен доп фильтр? Это харашо что стоит перед счётчиком но для постановки на гарантийное обслуживание требуют чтобы стоял фильтр непосредственно на котёл,если докажете им что того фильтра хватит значит так и будет. Посилання на коментар Поділитися на інших сайтах More sharing options...
Анатолий62 Опубліковано: 8 листопада 2012 Поділитись Опубліковано: 8 листопада 2012 1. На котле 1/2 дюйма, газовщики вывели кран 3/4. Вопрос можно ли использовать 1/2 дюйма гибкий шланг как для газовой плиты или надо 3/4 дюймовую гофру из нержавейки? Это вы у своих газовщиков спросите: унас каждый " ....Газ" свои порядки устанавливает. Одним "ТОЛЬКО чёрный шланг",Вторым " Только нержавейку". 2. Выход/вход воды на отопление внутренний диаметр трубки ~12 мм, есть ли смысл для разводки отопления тянуть 25 трубу или достаточно 20 ? Тянуть куда???? схемку (приблезительную ) системы можно?. Какая труба ППР или МП??? Если МП- в 90% случаев хватит 20. Посилання на коментар Поділитися на інших сайтах More sharing options...
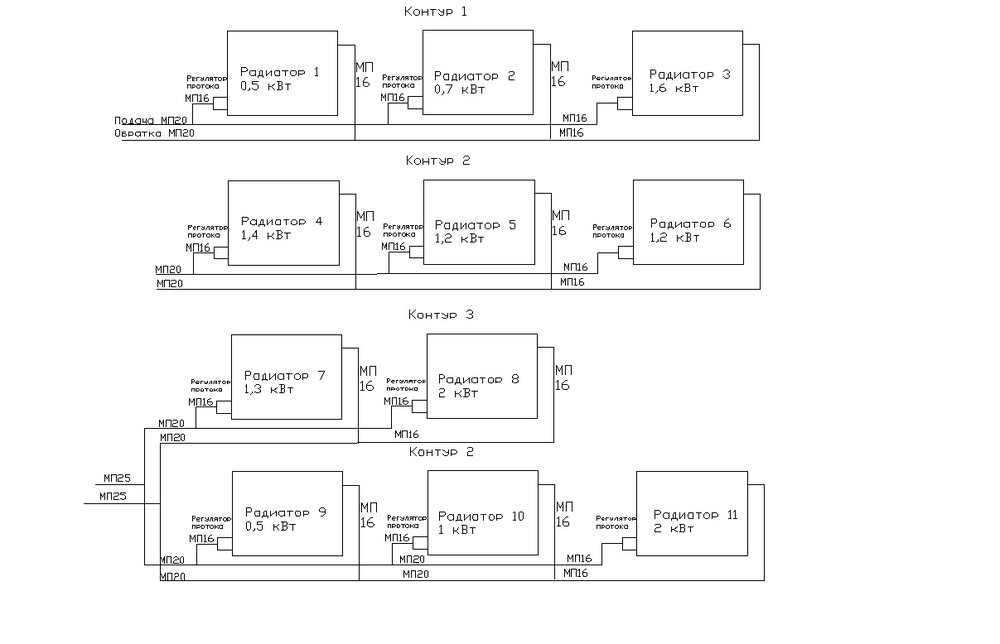
Andr_k5 Опубліковано: 8 листопада 2012 Автор Поділитись Опубліковано: 8 листопада 2012 Труба скорее всего МП, от котла разделяется на 3 потока, 2-й этаж, 1-й этаж левое крыло (две 3 батареи), 1-й этаж правое крыло (три батареи). Посилання на коментар Поділитися на інших сайтах More sharing options...
Анатолий62 Опубліковано: 8 листопада 2012 Поділитись Опубліковано: 8 листопада 2012 2-й этаж 25 стояк разводка 20, подвод к радиаторам 16 1 Посилання на коментар Поділитися на інших сайтах More sharing options...
Andr_k5 Опубліковано: 9 листопада 2012 Автор Поділитись Опубліковано: 9 листопада 2012 (змінено) Как бюджетно сделать обвязку котла. Сейчас думаю поставить обычные тройники латунные на выходе краны на каждое направлени, разделить на три, регулировать на каждой батарее или на входе или на выходе. Змінено 9 листопада 2012 користувачем Andr_k5 Посилання на коментар Поділитися на інших сайтах More sharing options...
Рекомендовані повідомлення
Створіть акаунт або увійдіть у нього для коментування
Ви маєте бути користувачем, щоб залишити коментар
Створити акаунт
Зареєструйтеся для отримання акаунта. Це просто!
Зареєструвати акаунтУвійти
Вже зареєстровані? Увійдіть тут.
Увійти зараз