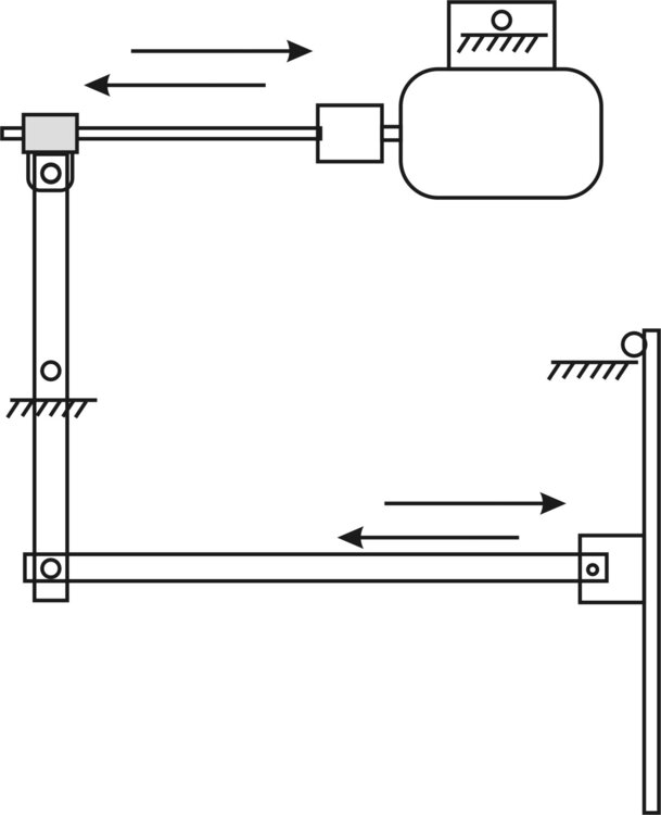
Зигзаг Удачи Опубліковано: 29 квітня 2011 Поділитись Опубліковано: 29 квітня 2011 Занимаемся сейчас подготовкой к оборудованию овощехранилища. Подошли к вентиляции. Цены на оригинальные узлы впечатляют до неприличия Поэтому пытаемся то, что можно сделать своими силами. Хочу посоветоваться по поводу приводов - на схеме видно, что для перемещения клапанов используется именно линейный привод. Вопросы - можно ли для этих целей использовать приводы от ворот? - хватит ли у них мощности двигать клапан весом примерно в 100 кг? - проживут ли эти приводы хотя бы несколько лет при 2000-3000 включений в год? - если в принципе их можно ставить - где купить за недорого? - или может это вообще изобретательство велосипеда и есть более красивые решения? :D Спасибо! Посилання на коментар Поділитися на інших сайтах More sharing options...
neue bauer Опубліковано: 29 квітня 2011 Поділитись Опубліковано: 29 квітня 2011 Хочу посоветоваться по поводу приводов - на схеме видно, что для перемещения клапанов используется именно линейный привод. /quote] Я привык к тому, что линейный привод - он движет суперпоезда по рельсам. Неужели на схеме он самый? Так он там точно не нужен. Любой механизм, преобразующий вращательное движение в поступательное в овощехранилище будет в самый раз, имхо. Посилання на коментар Поділитися на інших сайтах More sharing options...
Зигзаг Удачи Опубліковано: 29 квітня 2011 Автор Поділитись Опубліковано: 29 квітня 2011 Хочу посоветоваться по поводу приводов - на схеме видно, что для перемещения клапанов используется именно линейный привод. /quote] Я привык к тому, что линейный привод - он движет суперпоезда по рельсам. Неужели на схеме он самый? Так он там точно не нужен. Любой механизм, преобразующий вращательное движение в поступательное в овощехранилище будет в самый раз, имхо. Суперпоезд по суперрельсам - это конечно круто Но "Любой механизм, преобразующий вращательное движение в поступательное" - это очень общее определение. Посоветуйте конкретный механизм? Спасибо... Посилання на коментар Поділитися на інших сайтах More sharing options...
neue bauer Опубліковано: 29 квітня 2011 Поділитись Опубліковано: 29 квітня 2011 Суперпоезд по суперрельсам - это конечно круто Ну да, линейный электродвигатель. Но "Любой механизм, преобразующий вращательное движение в поступательное" - это очень общее определение. Посоветуйте конкретный механизм? Спасибо... Что-нибудь навроде этого: на валу реверсивного двигателя закреплена резьбовая шпилька, на нее навинчена резьбовая же непрокручивающаяся втулка. Ко втулке - коромысло, ко второму концу коромысла - шток, толкающий или тянущий крышку клапана. 1 Посилання на коментар Поділитися на інших сайтах More sharing options...
Шарманщик Опубліковано: 29 квітня 2011 Поділитись Опубліковано: 29 квітня 2011 - 1.можно ли для этих целей использовать приводы от ворот? - 2.хватит ли у них мощности двигать клапан весом примерно в 100 кг? - 3.проживут ли эти приводы хотя бы несколько лет при 2000-3000 включений в год? - 4.если в принципе их можно ставить - где купить за недорого? 1. Можно и нужно, а так же оконные (фрамужные) подойдут - посмотрите, в пассажирском терминале Караваевы Дачи я такое сваял на потолке, в гребнях, совместив вентиляцию(дымоудаление) на случай пожара(задымления) и просто проветривание в штатных ситуациях. 2. Хватит и на большее 3. и дольше проживут - там ломаться нечему... 4. туточки, у Вратаря.... 1 Посилання на коментар Поділитися на інших сайтах More sharing options...
Зигзаг Удачи Опубліковано: 29 квітня 2011 Автор Поділитись Опубліковано: 29 квітня 2011 1. Можно и нужно, а так же оконные (фрамужные) подойдут - посмотрите, в пассажирском терминале Караваевы Дачи я такое сваял на потолке, в гребнях, совместив вентиляцию(дымоудаление) на случай пожара(задымления) и просто проветривание в штатных ситуациях. 2. Хватит и на большее 3. и дольше проживут - там ломаться нечему... 4. туточки, у Вратаря.... Спасибо, забегу гляну в терминале... Меня смущает небольшой рабочий ход - по тем, что я смотрел - 500 мм, хватит ли его что-бы достаточно большой клапан поднять с одного посадочного места и прижать к другому... В общем надо покрутить в голове - геометрию всех посадочных мест... Посилання на коментар Поділитися на інших сайтах More sharing options...
Шарманщик Опубліковано: 29 квітня 2011 Поділитись Опубліковано: 29 квітня 2011 Спасибо, забегу гляну в терминале... Меня смущает небольшой рабочий ход - по тем, что я смотрел - 500 мм, хватит ли его что-бы достаточно большой клапан поднять с одного посадочного места и прижать к другому... В общем надо покрутить в голове - геометрию всех посадочных мест... Я то же не "хомо меканикус", но система рычагов "пантограф" - вот точно, что нужно, ежели я правильно понял задачу... 1 Посилання на коментар Поділитися на інших сайтах More sharing options...
Самоделкин Опубліковано: 29 квітня 2011 Поділитись Опубліковано: 29 квітня 2011 По идее должен подойти привод линейного перемещения от ворот . В любом случае требуется эксперементальный стенд . Секономить можно , да и нужно , главное правильно это сделать Посилання на коментар Поділитися на інших сайтах More sharing options...
Шарманщик Опубліковано: 29 квітня 2011 Поділитись Опубліковано: 29 квітня 2011 А может ещё проще - два привода и вааще никаких рычагов? Посилання на коментар Поділитися на інших сайтах More sharing options...
Самоделкин Опубліковано: 29 квітня 2011 Поділитись Опубліковано: 29 квітня 2011 Может и проще.... но надо считать , что будет дешевле - система рычагов или удвоенное кол-во движков. Посилання на коментар Поділитися на інших сайтах More sharing options...
Самоделкин Опубліковано: 29 квітня 2011 Поділитись Опубліковано: 29 квітня 2011 Мммм .Кажись все гениально просто )))))))) Две створки уравновешивают друг друга ! Т.е. для выполнения работы сразу по двум створкам требуется меньше затрат чем на одну ! Тот кто придумал эту схему - кажись умный человек !Где мое пиво ? ))) Посилання на коментар Поділитися на інших сайтах More sharing options...
kulak43 Опубліковано: 29 квітня 2011 Поділитись Опубліковано: 29 квітня 2011 Мммм .Кажись все гениально просто )))))))) Две створки уравновешивают друг друга ! Т.е. для выполнения работы сразу по двум створкам требуется меньше затрат чем на одну ! Тот кто придумал эту схему - кажись умный человек !Где мое пиво ? ))) И тогда можно использовать привод для гаражных ворот. Посилання на коментар Поділитися на інших сайтах More sharing options...
Artembond Опубліковано: 30 квітня 2011 Поділитись Опубліковано: 30 квітня 2011 - можно ли для этих целей использовать приводы от ворот? - хватит ли у них мощности двигать клапан весом примерно в 100 кг? - проживут ли эти приводы хотя бы несколько лет при 2000-3000 включений в год? - если в принципе их можно ставить - где купить за недорого? - или может это вообще изобретательство велосипеда и есть более красивые решения? :D Спасибо! Я бы поискал пневпоцилиндр. Правда я не знаю где. Посилання на коментар Поділитися на інших сайтах More sharing options...
Зигзаг Удачи Опубліковано: 30 квітня 2011 Автор Поділитись Опубліковано: 30 квітня 2011 А может ещё проще - два привода и вааще никаких рычагов? Может - один по центру каждого клапана? Посилання на коментар Поділитися на інших сайтах More sharing options...
Зигзаг Удачи Опубліковано: 30 квітня 2011 Автор Поділитись Опубліковано: 30 квітня 2011 Я бы поискал пневпоцилиндр. Правда я не знаю где. Будут проблемы с управлением каждого клапана отдельно, не считая еще и необходимости наличия всей сопутствующей пневматике обвязки... Посилання на коментар Поділитися на інших сайтах More sharing options...
Lumen Опубліковано: 30 квітня 2011 Поділитись Опубліковано: 30 квітня 2011 Лучше применить стандартные привода,я использую в своей работе привода GEZE и GESSE. Если стоит задача сделать нестандартный привод,то использовал бы только пневматику-надёжно ,просто ,легко проектируется и воплощается в жизнь. Пневматика стоит не дорого,есть фирмы продающие всё. 1 Посилання на коментар Поділитися на інших сайтах More sharing options...
Самоделкин Опубліковано: 30 квітня 2011 Поділитись Опубліковано: 30 квітня 2011 У меня вопрос - вам поговорить или решить проблему ? Поговорить всегда приятно ,а то я уже поговорил . Так может будем решать проблему ? Надо экономить экономно и правильно , а чтоб экономить правильно , надо правильно понимать где надо экономить , а где не надо (ради экономии) . Вам таки понятно ? Посилання на коментар Поділитися на інших сайтах More sharing options...
Шарманщик Опубліковано: 30 квітня 2011 Поділитись Опубліковано: 30 квітня 2011 Может - один по центру каждого клапана? Ежели алгоритм работы просто - один закрыт, другой открыт - тогда вааще очень просто - "противоместный" пускатель и всё, а вот ежели посложнее, тогда озвучьте алгоритм - поборемся с реализацией..... 1 Посилання на коментар Поділитися на інших сайтах More sharing options...
Зигзаг Удачи Опубліковано: 1 травня 2011 Автор Поділитись Опубліковано: 1 травня 2011 Ежели алгоритм работы просто - один закрыт, другой открыт - тогда вааще очень просто - "противоместный" пускатель и всё, а вот ежели посложнее, тогда озвучьте алгоритм - поборемся с реализацией..... Стребую в понедельник у технолога по хранению - какой должен быть алгоритм работы клапанов и попытаюсь рассказать Посилання на коментар Поділитися на інших сайтах More sharing options...
Самоделкин Опубліковано: 2 травня 2011 Поділитись Опубліковано: 2 травня 2011 Я так понимаю , что меня игнорируют .Такое бывает в жизни . Удачи Вам в реализации на шару . И еще одно , пневматические системы , для данного вида работ - абсурд ! Можете не благодарить . Посилання на коментар Поділитися на інших сайтах More sharing options...
kulak43 Опубліковано: 4 травня 2011 Поділитись Опубліковано: 4 травня 2011 Я так понимаю , что меня игнорируют .Такое бывает в жизни . Удачи Вам в реализации на шару . И еще одно , пневматические системы , для данного вида работ - абсурд ! Можете не благодарить . Видимо никто не понял идею с уравновешиванием. правда она работает только при снихронном движени створок. Но сэкономить в этом случае позволяет хорошо. Посилання на коментар Поділитися на інших сайтах More sharing options...
Рекомендовані повідомлення
Створіть акаунт або увійдіть у нього для коментування
Ви маєте бути користувачем, щоб залишити коментар
Створити акаунт
Зареєструйтеся для отримання акаунта. Це просто!
Зареєструвати акаунтУвійти
Вже зареєстровані? Увійдіть тут.
Увійти зараз