Paganel.vn Опубліковано: 15 травня 2012 Поділитись Опубліковано: 15 травня 2012 День добрый уважаемые знатоки и просто любители . В общем ситуация такая, собрался я строить небольшой семейный домик. Как это уже исторически сложилось один этаж с мансардой. В общем то готовы все документы и осталось только пригласить экскаватор для копки траншей. Но есть одно большое НО. Изначально планировалось строить из обычного рядового кирпича с утеплением минватой, ширина стены получалась 48 см. Начитавшись отзывов на форуме и прогулявшись по соседним стройкам так сказать, было принято решение строить из газоблока D400 ширина 375 мм. Отсюда вывод, что можно удешевить фундамент, ну хотябы за счет меньшего веса газоблоков. Отправил я фундаменты на пересчет и даже получил кое-какие результаты, но все равно душа не спокойна, все равно чувствую что конструктор оставил нехилый запас, хотя могу и ошибаться, строительных институтов не заканчивал. Фундамент планирую ленточный, кран не подъедет соответственно ФБС не положу. Дабы удешевить, буду делать бутобетонный своими силами с отцом и помощниками. Конструктор насчитал армированную подушку и потом просто лента шириной 40 см (или может можно меньше?). Но для того чтобы сделать подушку, нужно раскопать нехило траншею и потом еще досок немало и прочей возни. Хочется просто выкопать траншеи нужной ширины и залить без опалубки до земли, а дальше уже опалубку и прочее. Наружные стены газоблок 375мм, как я уже писал, внутренние несущие кирпич. Перекрытие монолит. Крыша шифер. Подвал только под гаражем, высота 2 м., полноценный цокольный этаж делать не буду. В общем разбавлю немного картинками. P.S. Народ оч требую реального совета.... Посилання на коментар Поділитися на інших сайтах More sharing options...
Высотник Опубліковано: 15 травня 2012 Поділитись Опубліковано: 15 травня 2012 Думаю, что девять этажей на таком фундаменте Вы не построите, но семь - точно выдержит... Посилання на коментар Поділитися на інших сайтах More sharing options...
Технолог Опубліковано: 15 травня 2012 Поділитись Опубліковано: 15 травня 2012 Реальный совет,как практиков,в 20% делаем подушку(если заказчик настаивает),в остальном не экономить,так как фундамент = основа строения,ее основная конструктивная часть,не армировке так же не экономить,различные булыжнике не кидать,бетон лучше применять готовый заводской. А так удачи! Посилання на коментар Поділитися на інших сайтах More sharing options...
Высотник Опубліковано: 15 травня 2012 Поділитись Опубліковано: 15 травня 2012 Да это не фундамент, а бомбоубежище какое то. То что на фундаменте не надо экономить - это понятно, но и закапывать такие деньги в землю, то же не вижу смысла, Ваш конструктор, ну очень сильно, подстраховался. Посилання на коментар Поділитися на інших сайтах More sharing options...
Paganel.vn Опубліковано: 15 травня 2012 Автор Поділитись Опубліковано: 15 травня 2012 Да это не фундамент, а бомбоубежище какое то. То что на фундаменте не надо экономить - это понятно, но и закапывать такие деньги в землю, то же не вижу смысла, Ваш конструктор, ну очень сильно, подстраховался. Вот и я примерно такого же мнения. понимаю что мне деньги никто экономить не будет. Понимаю что вес газоблоков совершенно другой, возьмешь 5-6 кирпичей и уже чувствуется, а блок полегче реально.... Мое мнение что можно сделать подушку армированную шириной с ленту, а потом сделать бутобетонную ленту и уже под верхом еще один армопояс, может даже завязать его с подвальным перекрытием. Конструктор вроде как пересчитал подушку и вместо 1200 мм он конечно нарисовал 800, местами 600. Но все равно у меня это вызывает СОМНЕНИЯ. И почему ширина фундамента в подвале пол метра, неужели такое давление грунта будет на стену.... Хотя и есть перепад по высоте в 80 см примерно от края до края. По фоткам на форуме вижу, что люди льют в 40 см и подвалы, и потом из кирпича стены гонят.... бетон лучше применять готовый заводской. А так удачи! Это не реально, миксер не заедет, бетононасосов в городе я не встречал, не востребованы что-ли. Да и буду строить максимально своими силами.... Посилання на коментар Поділитися на інших сайтах More sharing options...
Высотник Опубліковано: 15 травня 2012 Поділитись Опубліковано: 15 травня 2012 По поводу высоты подушки, тут ничего менять не надо, а вот по ширине... есть такой, очень усредненный, расчёт ширины подушки (естественно при условии, что у Вас с грунтами нет ни каких критических отклонений), считаем, что один квадратный сантиметр подушки несёт нагрузку в один кг, и это с приличным запасом прочности. Представляю как сейчас передёргнуло специалистов, но человеку как то нужно разобраться, где он переплачивает. Так вот и прикиньте, сколько тысяч тонн выдержит Ваш фундамент и будет ли, на самом деле, таким тяжёлым Ваш дом? 1 Посилання на коментар Поділитися на інших сайтах More sharing options...
agatrid Опубліковано: 15 травня 2012 Поділитись Опубліковано: 15 травня 2012 Решаю для себя тот же вопрос, вот тема - www.stroimdom.com.ua/forum/showthread.php?t=96224 Но пока склоняюсь к тому, что буду делать как просчитали и даже наоборот - еще и армирование получше сделаю. Но у меня правда 2 полноценных этажа и блок 500 мм. а не 375 как у Вас, т.ч. может у Вас и перебор. А людей, которые на форуме пишут о том, сколько этажей на таком фундаменте можно построить - Вы не слушайте, не им в этом доме жить. Лучше попросите совета у конструкторов здесь на форуме, которые дают небольшие бесплатные консультации. Посилання на коментар Поділитися на інших сайтах More sharing options...
Высотник Опубліковано: 15 травня 2012 Поділитись Опубліковано: 15 травня 2012 хотелось как лучше, а получилось... Посилання на коментар Поділитися на інших сайтах More sharing options...
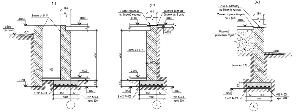
trianom Опубліковано: 16 травня 2012 Поділитись Опубліковано: 16 травня 2012 Судя по разрезам участок имеет большой уклон, а по геологии - есть два слоя (ИГЭ-2,3) просадочные (похоже, что просадочный при замачивании от дополнительных нагрузок - I тип, непомешало бы и указание начального просадочного давления в отчете). В первом приближении получается, что внешние фундаментные стены дома возле гаража (по оси 2) опираются на непросадочные грунты (ИГЭ-4) - уширение по подошве можно и убрать (сетку только не забыть оставить по подошве ленты), а вот внешние стены с высоким цоколем (по оси 5) будут уже опираться на просадочные грунты. Для просадочных грунтов в данном случае, на мой взгляд, нужно или уширение подошвы просчитать так, чтобы давление под ней было меньше начального просадочного (что наверно и предусмотрено проектом)с обязательной защитой просадочных грунтов основания (ИГЭ-3) от замачивания атмосферными и технологическими водами, или же устранять просадочные характеристики грунтов (уширение подошвы по низу можно будет убрать, но придется перелопатить ИГЭ-3 с послойным уплотнением для полной ликвидации просадочных свойств, или же его полная замена песком\щебнем). Нужно сесть просчитать варианты по материло-трудозатратам и выбрать подходящий. Вариант с изменением свойств грунтов основания наиболее надежный и долговечный, а для первого варианта нужно очень тщательно выполнить устройство водонепроницаемой отмостки шириной не менее 1,5 м.; спланировать грамотно участок так, чтобы отводить атмосферную воду от дома: внешний водоотвод с кровли выводить в канализационную\дренажную сеть; исключить возможность протекания (или же придется прокладывать в каналах, чтобы можно было периодически мониторить состояние) водонесущих сетей (водопровод\канализация) и подземных емкостей с водой (бытовые жижесборники). Кстати планы фундаментов в двух вариантах с разными отметками по подошвам (с низом фундаментов под внешними стенами на одной отметке -3,050 (более надежный, но и более затратный по материалам), и с низом на отметках -3,000 и -2,400). 1 Посилання на коментар Поділитися на інших сайтах More sharing options...
Paganel.vn Опубліковано: 16 травня 2012 Автор Поділитись Опубліковано: 16 травня 2012 Судя по разрезам участок имеет большой уклон, а по геологии - есть два слоя (ИГЭ-2,3) просадочные (похоже, что просадочный при замачивании от дополнительных нагрузок - I тип, непомешало бы и указание начального просадочного давления в отчете). В первом приближении получается, что внешние фундаментные стены дома возле гаража (по оси 2) опираются на непросадочные грунты (ИГЭ-4) - уширение по подошве можно и убрать (сетку только не забыть оставить по подошве ленты), а вот внешние стены с высоким цоколем (по оси 5) будут уже опираться на просадочные грунты. Для просадочных грунтов в данном случае, на мой взгляд, нужно или уширение подошвы просчитать так, чтобы давление под ней было меньше начального просадочного (что наверно и предусмотрено проектом)с обязательной защитой просадочных грунтов основания (ИГЭ-3) от замачивания атмосферными и технологическими водами, или же устранять просадочные характеристики грунтов (уширение подошвы по низу можно будет убрать, но придется перелопатить ИГЭ-3 с послойным уплотнением для полной ликвидации просадочных свойств, или же его полная замена песком\щебнем). Нужно сесть просчитать варианты по материло-трудозатратам и выбрать подходящий. Вариант с изменением свойств грунтов основания наиболее надежный и долговечный, а для первого варианта нужно очень тщательно выполнить устройство водонепроницаемой отмостки шириной не менее 1,5 м.; спланировать грамотно участок так, чтобы отводить атмосферную воду от дома: внешний водоотвод с кровли выводить в канализационную\дренажную сеть; исключить возможность протекания (или же придется прокладывать в каналах, чтобы можно было периодически мониторить состояние) водонесущих сетей (водопровод\канализация) и подземных емкостей с водой (бытовые жижесборники). Кстати планы фундаментов в двух вариантах с разными отметками по подошвам (с низом фундаментов под внешними стенами на одной отметке -3,050 (более надежный, но и более затратный по материалам), и с низом на отметках -3,000 и -2,400). Спасибо огромное за разъяснения, вот каких-то таких обоснованных ответов хочется услышать. Ведь я в принцыпе не отказываюсь от подушки, просто не хочу закапывать совсем не лишние деньги в землю. Если оно действительно нужно, то это дешевле сделать сразу чем потом локти кусать и стягивать трещины.... Делать буду первый вариант, с отводом воды, тем более улоны позволяют. Отмостка вокруг дома, плюс тротуарная плитка думаю даст результат и грунты не будут подмокать. Эше подскажите пожалуйста по ширине ленты по осям 1 и 2, нужно ли ее оставлять 500 мм или все таки достаточно 400, с условием устройства подушки под ней. Конструктор объяснил это тем, что будет боковое давление грунта на нее и потому нужно сделать 500 мм. По высоте фундамента я тоже заметил что он сделал разный. То есть он получается ступенькой? Может потому он и оставил ширину стен подвального помещения 500? Атачу еще описание по грунтам в проэкте Посилання на коментар Поділитися на інших сайтах More sharing options...
Paganel.vn Опубліковано: 16 травня 2012 Автор Поділитись Опубліковано: 16 травня 2012 Кстати планы фундаментов в двух вариантах с разными отметками по подошвам (с низом фундаментов под внешними стенами на одной отметке -3,050 (более надежный, но и более затратный по материалам), и с низом на отметках -3,000 и -2,400). Я изначально думал строить из кирпича, а потом уже передумалось в сторону газоблока. Посилання на коментар Поділитися на інших сайтах More sharing options...
trianom Опубліковано: 16 травня 2012 Поділитись Опубліковано: 16 травня 2012 Эше подскажите пожалуйста по ширине ленты по осям 1 и 2, нужно ли ее оставлять 500 мм или все таки достаточно 400, с условием устройства подушки под ней. Конструктор объяснил это тем, что будет боковое давление грунта на нее и потому нужно сделать 500 мм. Когда разбирался с подпорной стеной (просто подпорная стена без пригрузки сверху) из фундаментных блоков ФБС: для худшего варианта с грунтами (с учтеной нагрузкой на прилегающей площади в 1 т/м2 (в Вашем случае нагрузка на пол)) подпорная стенка шириной 0,4 м. нормально работает при высоте подпора грунтов не более 1,2-1,3 м. К тому же у Вас есть положительный момент: подпорная стенка является также фундаментной стеной т.е. дополнительно пригружена - это однозначно повышает несущую способность подпорной стены. Посилання на коментар Поділитися на інших сайтах More sharing options...
Igor_M Опубліковано: 16 травня 2012 Поділитись Опубліковано: 16 травня 2012 День добрый уважаемые знатоки и просто любители . В общем ситуация такая, собрался я строить небольшой семейный домик. Как это уже исторически сложилось один этаж с мансардой. В общем то готовы все документы и осталось только пригласить экскаватор для копки траншей. Но есть одно большое НО. Изначально планировалось строить из обычного рядового кирпича с утеплением минватой, ширина стены получалась 48 см. Начитавшись отзывов на форуме и прогулявшись по соседним стройкам так сказать, было принято решение строить из газоблока D400 ширина 375 мм. Отсюда вывод, что можно удешевить фундамент, ну хотябы за счет меньшего веса газоблоков. Отправил я фундаменты на пересчет и даже получил кое-какие результаты, но все равно душа не спокойна, все равно чувствую что конструктор оставил нехилый запас, хотя могу и ошибаться, строительных институтов не заканчивал. Фундамент планирую ленточный, кран не подъедет соответственно ФБС не положу. Дабы удешевить, буду делать бутобетонный своими силами с отцом и помощниками. Конструктор насчитал армированную подушку и потом просто лента шириной 40 см (или может можно меньше?). Но для того чтобы сделать подушку, нужно раскопать нехило траншею и потом еще досок немало и прочей возни. Хочется просто выкопать траншеи нужной ширины и залить без опалубки до земли, а дальше уже опалубку и прочее. Наружные стены газоблок 375мм, как я уже писал, внутренние несущие кирпич. Перекрытие монолит. Крыша шифер. Подвал только под гаражем, высота 2 м., полноценный цокольный этаж делать не буду. В общем разбавлю немного картинками. P.S. Народ оч требую реального совета.... ...к посту trianom... очень все толково... И если вы не доверяете этому конструктору, отдайте все на просчет ДРУГОМУ, но ТОЖЕ КОНСТРУКТОРУ. Я отдвал ТРОИМ разным. Бутобетонный фундамент вам конструктор рассчитал? Посилання на коментар Поділитися на інших сайтах More sharing options...
Киев-1966 Опубліковано: 16 травня 2012 Поділитись Опубліковано: 16 травня 2012 Под дом из газоблока нужно как раз наоборот чуть перезаложенный фундамент и только монолитный с армированием.Газоблок не способен держать ни малейшей деформации и сразу трещит.Очень ошибочное мнение,что для домов из газоблока можно съэкономить на фундамене.Стройте,как задумались 1,5 ряда рядового-100мм бальзата и штукатурка.Ширину ленту можно в таком случае делать 380мм.Ширину пятки из расчета геологии и веса конструкции.Фундамент для газоблока нужно армировать обязательно. 2 Посилання на коментар Поділитися на інших сайтах More sharing options...
Paganel.vn Опубліковано: 16 травня 2012 Автор Поділитись Опубліковано: 16 травня 2012 ...к посту trianom... очень все толково... И если вы не доверяете этому конструктору, отдайте все на просчет ДРУГОМУ, но ТОЖЕ КОНСТРУКТОРУ. Я отдвал ТРОИМ разным. Бутобетонный фундамент вам конструктор рассчитал? Да, конструктор. Плюс когда просил пересчитать то тоже уточнил что газобетонные блоки будут. Армировать я буду обязательно. Только получается что армируется только подошва. А сама лента нет. Вообще не армируется. Я так понимаю что бут выполняет роль связки. То есть только камни и между ними проливается бетоном с щебнем 5-20 в качестве наполнителя. Вроде так. А что, так делать нельзя? Посилання на коментар Поділитися на інших сайтах More sharing options...
Киев-1966 Опубліковано: 16 травня 2012 Поділитись Опубліковано: 16 травня 2012 Да, конструктор. Плюс когда просил пересчитать то тоже уточнил что газобетонные блоки будут. Армировать я буду обязательно. Только получается что армируется только подошва. А сама лента нет. Вообще не армируется. Я так понимаю что бут выполняет роль связки. То есть только камни и между ними проливается бетоном с щебнем 5-20 в качестве наполнителя. Вроде так. А что, так делать нельзя? Это не конструктор.Гоните его в шею.Нужен минимум армопояс 30см над бутом армированный в два ряда арматурой 12.На бут газоблок не кладется.Зачем Вам вообще бут? Я понимаю в Советское время,когда цемент дефицитом был и его в сезон было не достать,а сейчас в чем проблема?Вы геологию делали.Съэкономить на фундаменте можно лишь сделав точную геологию.Почему у Вас о подошва именно 1200мм,а не другая?Там где подвала нет зачем вам фундамент обмазывать горячим битумом,да еще два раза? Там гидроизоляциюя вообще не нужна,если нормальная геология.Лучше ЭППС 50мм.Странно все выглядит? Посилання на коментар Поділитися на інших сайтах More sharing options...
Paganel.vn Опубліковано: 16 травня 2012 Автор Поділитись Опубліковано: 16 травня 2012 Это не конструктор.Гоните его в шею.Нужен минимум армопояс 30см над бутом армированный в два ряда арматурой 12.На бут газоблок не кладется.Зачем Вам вообще бут? Я понимаю в Советское время,когда цемент дефицитом был и его в сезон было не достать,а сейчас в чем проблема?Вы геологию делали.Съэкономить на фундаменте можно лишь сделав точную геологию.Почему у Вас о подошва именно 1200мм,а не другая? В первом сообщении есть геология. И начальный (под кирпич) и конечный (под газоблок) фундаменты. Ну и мой участок с уклоном. Перепад по высоте между противоположными углами около 80 см. Почему бут, хороший вопрос, ну хотябы потому, что армировать меньше (ну во всяком случае я так понимаю), плюс не нужно столько цемента, один камень бросил он ведро раствора заменил. А если лить монолит, то и желательно залить его сразу, плюс немеряно бетона (цемента) нужно. Подъезда у меня для миксера нету, то есть готовый бетон не зальешь.... Плюс стараюсь максимально сэкономить, газоблок сам с отцом ложить буду. Вот от того и такие заморочки. Может я и ошибаюсь в чем-то, или так никто не делает, тогда поправьте. Посилання на коментар Поділитися на інших сайтах More sharing options...
Киев-1966 Опубліковано: 16 травня 2012 Поділитись Опубліковано: 16 травня 2012 В первом сообщении есть геология. И начальный (под кирпич) и конечный (под газоблок) фундаменты. Ну и мой участок с уклоном. Перепад по высоте между противоположными углами около 80 см. Почему бут, хороший вопрос, ну хотябы потому, что армировать меньше (ну во всяком случае я так понимаю), плюс не нужно столько цемента, один камень бросил он ведро раствора заменил. А если лить монолит, то и желательно залить его сразу, плюс немеряно бетона (цемента) нужно. Подъезда у меня для миксера нету, то есть готовый бетон не зальешь.... Плюс стараюсь максимально сэкономить, газоблок сам с отцом ложить буду. Вот от того и такие заморочки. Может я и ошибаюсь в чем-то, или так никто не делает, тогда поправьте. Вам я уже писал на бут газоблок нельзя класть,только на армопояс.И почему миксер не подъедет? Если не подъедит миксер,то значит и газоблок не подъедит и все остальное.Опишите Ваш пирог стены точный. Посилання на коментар Поділитися на інших сайтах More sharing options...
Paganel.vn Опубліковано: 16 травня 2012 Автор Поділитись Опубліковано: 16 травня 2012 Вам я уже писал на бут газоблок нельзя класть,только на армопояс.И почему миксер не подъедет? Если не подъедит миксер,то значит и газоблок не подъедит и все остальное.Опишите Ваш пирог стены точный. По поводу верхнего армопояса у меня тоже берут сомнения, я тоже интуитивно понимаю что он нужен. И буду его делать. Армировать буду таким же количеством как подушку. По поводу подъезда... миксер может и заедет во двор с большим трудом, но горизонтально ровно он не сможет стать. У меня заезд во двор в горку. А завозить камень, щебень, отсев планирую зилами, если маз ( камаз ) не заедет... Во всяком случае сначала приглашу водителя глянуть. Газоблок буду разгружать краном с дороги. Между дорогой и участком ( где буду строить) перепад метр с копейками... Плюс подвозить блоки буду частями, а не все сразу. С крановщиком уже состыковался, сказал, что сможет. Пирог стены, наружные - просто газоблок D400 375 мм, без утепления, шпатлевать и красить через год, второй. Внутренние несущие стены - полнотелый кирпич 380 мм. Вот как-то так. На рисунке прямоугольник - это будущая фура с газоблоком. Сори за художество. Посилання на коментар Поділитися на інших сайтах More sharing options...
Киев-1966 Опубліковано: 16 травня 2012 Поділитись Опубліковано: 16 травня 2012 По поводу верхнего армопояса у меня тоже берут сомнения, я тоже интуитивно понимаю что он нужен. И буду его делать. Армировать буду таким же количеством как подушку. По поводу подъезда... миксер может и заедет во двор с большим трудом, но горизонтально ровно он не сможет стать. У меня заезд во двор в горку. А завозить камень, щебень, отсев планирую зилами, если маз ( камаз ) не заедет... Во всяком случае сначала приглашу водителя глянуть. Газоблок буду разгружать краном с дороги. Между дорогой и участком ( где буду строить) перепад метр с копейками... Плюс подвозить блоки буду частями, а не все сразу. С крановщиком уже состыковался, сказал, что сможет. Пирог стены, наружные - просто газоблок D400 375 мм, без утепления, шпатлевать и красить через год, второй. Внутренние несущие стены - полнотелый кирпич 380 мм. Вот как-то так. На рисунке прямоугольник - это будущая фура с газоблоком. Сори за художество. Если у Вас стена под покраску из газоблока 375мм,то зачем Вам лента 480мм? Задайте на досуге этот вопрос конструктору и кто будет оплачивать эти лишнии 10см? Сделайте лучше стену газоблока 400мм и ленту 400.Амопояс обязателен.Если внизу будет армированная подошва,а сверху армированный армопояс,то можно и бут,если Вы уверенны,что сможете его хорошо пролить.Лучший по качеству на сегодняшний день-Броварской газоблок.Возьмите у них D-400,В2,5 1 Посилання на коментар Поділитися на інших сайтах More sharing options...
Paganel.vn Опубліковано: 16 травня 2012 Автор Поділитись Опубліковано: 16 травня 2012 Если у Вас стена под покраску из газоблока 375мм,то зачем Вам лента 480мм? Задайте на досуге этот вопрос конструктору и кто будет оплачивать эти лишнии 10см? Сделайте лучше стену газоблока 400мм и ленту 400.Амопояс обязателен.Если внизу будет армированная подошва,а сверху армированный армопояс,то можно и бут,если Вы уверенны,что сможете его хорошо пролить.Лучший по качеству на сегодняшний день-Броварской газоблок.Возьмите у них D-400,В2,5 Спасибо, их газоблок и собирался брать, единственное, я думал что 400 делают только под заказ, может и ошибаюсь. А ленту под подвал шириной в пол метра он объяснил, что она является подпорной стеной. Потому и надо 500 а не 400.... Здесь меня тоже берут сомнения.... Тоже думаю что 400 достаточно, хотя расчетами подтвердить не могу, не умею я этого.... Посилання на коментар Поділитися на інших сайтах More sharing options...
trianom Опубліковано: 17 травня 2012 Поділитись Опубліковано: 17 травня 2012 Прислушайтесь к советам Киев-1966 - правильные вещи говорит. С бутом, ИМХО, имеет смысл связываться, если рядом карьер (или знакомый на карьере), а так из-за неправильной формы камней швы между блоками очень плохо работают на растяжение - значительно проигрывает кладке из блоков правильной формы. Пы.Сы.: как инженер могу лишь добавить - чтобы на лету менять технические решения по конструктиву (мне показалось грешите Вы сменой коней на переправе), нужно обладать очень хорошими знаниями предмета. Для новичка же правильнее будет придерживаться нормального проекта - поверьте, косяков и так будет при строительстве полно, да и с подрядчиками/прорабами частенько не везет. Посилання на коментар Поділитися на інших сайтах More sharing options...
Paganel.vn Опубліковано: 17 травня 2012 Автор Поділитись Опубліковано: 17 травня 2012 Прислушайтесь к советам Киев-1966 - правильные вещи говорит. С бутом, ИМХО, имеет смысл связываться, если рядом карьер (или знакомый на карьере), а так из-за неправильной формы камней швы между блоками очень плохо работают на растяжение - значительно проигрывает кладке из блоков правильной формы. Пы.Сы.: как инженер могу лишь добавить - чтобы на лету менять технические решения по конструктиву (мне показалось грешите Вы сменой коней на переправе), нужно обладать очень хорошими знаниями предмета. Для новичка же правильнее будет придерживаться нормального проекта - поверьте, косяков и так будет при строительстве полно, да и с подрядчиками/прорабами частенько не везет. Я и прислушиваюсь вроде, потому и ветку создал. Оба фундамента считал один и тот же конструктор, а не я. Я наоборот спорю с отцом, что подушка нужна, потому как у меня уклон на участке. Коней поменял (кирпич на газоблок) опять таки из-за удешевления. Потому как будем газоблок сами с отцом ложить. У нас в регионе кирпич стоит ооло 1000-1100 с доставкой на объект. А положить его порядка 700-800 грн за 1000 шт. За газоблок работа будет дармовой. В общем то планируем в основном все делать сами без прораба и подрядчиков. Максимум подсобники на заливку фундамента. Такое себе мегабюджетное строительство. О монолите писал выше, что и дороже получается он, плюс с миксера я не смогу лить бетон в опалубку (опять же таки, опалубку нужно всю сделать сразу, это опять дополнительные деньги) Прийдется сливать и носить, а фундамент порядка 80 кубов. Хотя может я и неправ. В общем-то вот такой расклад. Посилання на коментар Поділитися на інших сайтах More sharing options...
Киев-1966 Опубліковано: 17 травня 2012 Поділитись Опубліковано: 17 травня 2012 (змінено) Я и прислушиваюсь вроде, потому и ветку создал. Оба фундамента считал один и тот же конструктор, а не я. Я наоборот спорю с отцом, что подушка нужна, потому как у меня уклон на участке. Коней поменял (кирпич на газоблок) опять таки из-за удешевления. Потому как будем газоблок сами с отцом ложить. У нас в регионе кирпич стоит около 1000-1100 с доставкой на объект. А положить его порядка 700-800 грн за 1000 шт. За газоблок работа будет дармовой. В общем то планируем в основном все делать сами без прораба и подрядчиков. Максимум подсобники на заливку фундамента. Такое себе мегабюджетное строительство. О монолите писал выше, что и дороже получается он, плюс с миксера я не смогу лить бетон в опалубку (опять же таки, опалубку нужно всю сделать сразу, это опять дополнительные деньги) Прийдется сливать и носить, а фундамент порядка 80 кубов. Хотя может я и неправ. В общем-то вот такой расклад.Я вам последний раз напишу,хотите слушайте,хотите нет.Во первых у Вас есть подошва шириной 1200мм,для которой нужно будет выкопать траншею шириной 1400-1500 мм.Дальше Вы на дно укладываете геотекстиль ,засыпаете сверху отсевом 100мм,трамбуете его на мокрую и заливаете армированную подошву,как Вы и планируте.Вопрос-А что дальше?.Как Вы планируете тот же бут класть и проливать его без опалубки в траншее шириной 1400-1500 мм? Обычно при применении бута выкапывают траншею шириной 500-600 мм,бока траншеи застеляют пленкой и делают бутовку без подошвы прямо в земле.У Вас же есть подошва и это все меняет.Вот опишите мне ,как Вы планируете бутовку шириной 480мм выгнать при ширине траншеи 1400-1500мм без опалубки?Кстати ФБС на подошву можно не только краном положить,а и грузоподъемником и разгрузить его можно просто самосвалом.И еще раз повторю на бутовку газоблок класть нельзя,нужен минимум армопояс и Вы не понимаете сколько сил и времени у Вас уйдет,что бы сделать правильную бутовку,тем более без опыта.Не правильно все это.Не на том экономите. Змінено 17 травня 2012 користувачем Киев-1966 1 Посилання на коментар Поділитися на інших сайтах More sharing options...
Paganel.vn Опубліковано: 17 травня 2012 Автор Поділитись Опубліковано: 17 травня 2012 Я вам последний раз напишу,хотите слушайте,хотите нет.Во первых у Вас есть подошва шириной 1200мм,для которой нужно будет выкопать траншею шириной 1400-1500 мм.Дальше Вы на дно укладываете геотекстиль ,засыпаете сверху отсевом 100мм,трамбуете его на мокрую и заливаете армированную подошву,как Вы и планируте.Вопрос-А что дальше?.Как Вы планируете тот же бут класть и проливать его без опалубки в траншее шириной 1400-1500 мм? Обычно при применении бута выкапывают траншею шириной 500-600 мм,бока траншеи застеляют пленкой и делают бутовку без подошвы прямо в земле.У Вас же есть подошва и это все меняет.Вот опишите мне ,как Вы планируете бутовку шириной 480мм выгнать при ширине траншеи 1400-1500мм без опалубки?Кстати ФБС на подошву можно не только краном положить,а и грузоподъемником и разгрузить его можно просто самосвалом.И еще раз повторю на бутовку газоблок класть нельзя,нужен минимум армопояс и Вы не понимаете сколько сил и времени у Вас уйдет,что бы сделать правильную бутовку,тем более без опыта.Не правильно все это.Не на том экономите. Все правльно, рою траншею, делаю подушку, а потом опалубку нужной ширины. Только вот опалубку не на всю высоту сразу, а частями, к примеру по метру. И обязательно сверху армопояс, я тут и не спорю, согласен на все 100, выше я писал, что конструктор нарисовал без армопояса, но я буду делать. Все еще затрудняется тем, что я живу на этом участке, и развернуться то толком негде. Или дом, в котором сейчас живем, или забор соседский мешает...... То что работы будет немеряно.... это я прекрасно понимаю ... Посилання на коментар Поділитися на інших сайтах More sharing options...
Рекомендовані повідомлення
Створіть акаунт або увійдіть у нього для коментування
Ви маєте бути користувачем, щоб залишити коментар
Створити акаунт
Зареєструйтеся для отримання акаунта. Це просто!
Зареєструвати акаунтУвійти
Вже зареєстровані? Увійдіть тут.
Увійти зараз