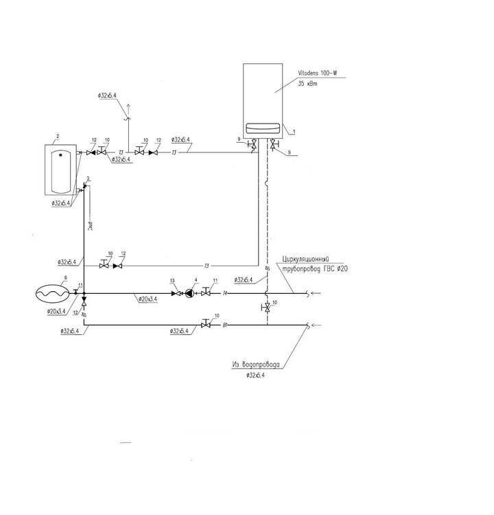
Мимопроходящий Опубліковано: 10 жовтня 2015 Поділитись Опубліковано: 10 жовтня 2015 Уважаемые Гуру отопления, очень нужен совет по устройству циркуляции ГВС. Имеется конденсационный котел комбинированный Vitodens 100-W. На ГВС он работает как колонка, проточно. Что-бы сделать циркуляцию, будем покупать эл.бойлер на 100л. именно для этой цели. Есть схемка, как это устроить, но я не догоняю, как она работает. Помогите разобраться что к чему. Посилання на коментар Поділитися на інших сайтах More sharing options...
Interso Опубліковано: 10 жовтня 2015 Поділитись Опубліковано: 10 жовтня 2015 Уважаемые Гуру отопления, очень нужен совет по устройству циркуляции ГВС. Имеется конденсационный котел комбинированный Vitodens 100-W. На ГВС он работает как колонка, проточно. Что-бы сделать циркуляцию, будем покупать эл.бойлер на 100л. именно для этой цели. Есть схемка, как это устроить, но я не догоняю, как она работает. Помогите разобраться что к чему. Рециркуляция будет работать, но вот засада в том что будет очень трудно отбалансировать газ котёл и электробойлер.В опредилённый момент при интенсивном водоразборе когда в эл. бойлере остынет вода будет происходить подмес прохладной воды в горячую. Схему нада переработать по другому. 1 Посилання на коментар Поділитися на інших сайтах More sharing options...
Мимопроходящий Опубліковано: 11 жовтня 2015 Автор Поділитись Опубліковано: 11 жовтня 2015 Схему нада переработать по другому. Понимаю, что нужно сделать так, что-бы когда котел включался на ГВС, подача из бойлера перекрывалась. Но как это можно устроить? Посилання на коментар Поділитися на інших сайтах More sharing options...
Interso Опубліковано: 11 жовтня 2015 Поділитись Опубліковано: 11 жовтня 2015 Понимаю, что нужно сделать так, что-бы когда котел включался на ГВС, подача из бойлера перекрывалась. Но как это можно устроить? Зачем так сложно делать,можно сделать самый простой последовательный вариант. Ещё, такая тема уже давно есть,почитайте её,там много чего есть интересного. www.stroimdom.com.ua/forum/showthread.php?t=28247 1 Посилання на коментар Поділитися на інших сайтах More sharing options...
Рекомендовані повідомлення
Створіть акаунт або увійдіть у нього для коментування
Ви маєте бути користувачем, щоб залишити коментар
Створити акаунт
Зареєструйтеся для отримання акаунта. Це просто!
Зареєструвати акаунтУвійти
Вже зареєстровані? Увійдіть тут.
Увійти зараз