tomkol Опубліковано: 6 листопада 2021 Поділитись Опубліковано: 6 листопада 2021 В 28.10.2021 в 16:53, Tsoy сказал: За остальные не скажу, не знаю, дела с ними не имел. Маю ССВА 180 с полным фаршем. Уже много лет. Покупал давненько по советам из этой же ветки. Доволен. Электродами, ТИГом поигрался. Ну працюет и працюет. Пользуюсь в основном полуавтоматом 0,8 проволокой по чернине всякой, и пускозарядкой. Пускозарядка в сварке це бимба. Кто еще из вышеперечисленных такую функцию имеет. Аккумуляторы заряжает, есть звуковая сигнализация когда готово. Пусковую функцию проверял всего раз на мотоцикле, мотик со сдохшим аккумчиком заводит. На машине не пробовал, не приходилось. Прикольная возможность открылась случайно. Пришло в голову использовать режим пускозарядки как источник постоянного тока 12 вольт, с возможностью регулировки тока по амперажу для проверки рекламационных вентиляторов автомобильных. 12 вольт, О ампер -- ничо не происходит, 1 - начинает крутиться, на 4 ампера взлетает. Просто от аккумулятора так на разных режимах проверить не получилось бы. По сварке полуавтоматом нареканий нет. Совсем тонкий металл 0,8 проволокой или прожигает, или некрасивые колбаски наваливает. Надо проволоку 0,6, и, возможно мастерство подкачать. Начиная от миллиметра проблем нет. На толстых деталях надо кромки разделывать, это нормально и правильно, так книжка пишет. По ТИГу да, только постоянка, для черного металла или нержавейки. На ССВА я им не пользуюсь. Для ТИГа у меня полноценный АС/ДС есть, а для электродов Атом 180Д. ССВА, как и Атом, как и Патон хороши тем, что в Украине производятся, и с сервисом/ремонтом/гарантией проблем никаких нет. В отличие от каких-нибудь нонеймов или махровых китайцев. Цой :)) Я соседу как-то дизельный 2,6 бус заводил от своего аппарата. Без проблем 1 Посилання на коментар Поділитися на інших сайтах More sharing options...
MaksymS Опубліковано: 6 листопада 2021 Поділитись Опубліковано: 6 листопада 2021 02.11.2021 в 10:16, Privet сказав: У осінньо-зимовий період один з апаратів тижнями може стояти на зарядці - не вимикаючись. щось дивне коїться. Це ж що за такі мертві акумулятори в хазяйстві, що весь час на зарядці стоять? Посилання на коментар Поділитися на інших сайтах More sharing options...
7351 Опубліковано: 6 листопада 2021 Поділитись Опубліковано: 6 листопада 2021 9 годин тому, MaksymS сказав: щось дивне коїться. Це ж що за такі мертві акумулятори в хазяйстві, що весь час на зарядці стоять? Неопалюване приміщення, акумулятор використовується вранці, для запуску моторів, що охолонули за ніч, для заощадження ресурсу "рідних" акумуляторів. Версія. Посилання на коментар Поділитися на інших сайтах More sharing options...
KIPOROVOD Опубліковано: 13 грудня 2021 Поділитись Опубліковано: 13 грудня 2021 Какой редуктор лучше купить для полуавтомата? Посилання на коментар Поділитися на інших сайтах More sharing options...
Tsoy Опубліковано: 14 грудня 2021 Поділитись Опубліковано: 14 грудня 2021 Геркулес. Но если вам для бытовых нужд иногда, то подойдет и Донмет. Цой :)) 1 Посилання на коментар Поділитися на інших сайтах More sharing options...
KIPOROVOD Опубліковано: 14 грудня 2021 Поділитись Опубліковано: 14 грудня 2021 Только для бытовых. Спасибо) Посилання на коментар Поділитися на інших сайтах More sharing options...
svARnoy Опубліковано: 16 грудня 2021 Поділитись Опубліковано: 16 грудня 2021 (змінено) В 14.12.2021 в 15:09, Tsoy сказал: Геркулес. Но если вам для бытовых нужд иногда, то подойдет и Донмет. Цой :)) Поддерживаю.... Для рядового пользователя Донмет отлично подойдет Самый популярный - универсальный для аргона и углекислоты АР-40/У-30ДМ Но если аргоном в обозримом будущем не будете варить, то берите чисто под углекислоту. Хотя разницы в цене там по сути нет Змінено 16 грудня 2021 користувачем svARnoy Посилання на коментар Поділитися на інших сайтах More sharing options...
KIPOROVOD Опубліковано: 16 грудня 2021 Поділитись Опубліковано: 16 грудня 2021 Разница то есть в цене. А чем лучше только углекислотный против универсального? Посилання на коментар Поділитися на інших сайтах More sharing options...
svARnoy Опубліковано: 16 грудня 2021 Поділитись Опубліковано: 16 грудня 2021 9 минут назад, KIPOROVOD сказал: Разница то есть в цене. А чем лучше только углекислотный против универсального? Кажется ничем Отличаются пропускной способностью чисто на углекислотном м3/ч (л/мин) - 1,05 (17,5) против 1,65 (28) - на универсальном И давление газа На универсальном: на входе, МПа (кгс/см2) наибольшее - 20 (200) На углекислотном: 10 (100). Может спецы, которые и тем и тем пользовались подскажут нюансы, но картина такая 1 Посилання на коментар Поділитися на інших сайтах More sharing options...
KIPOROVOD Опубліковано: 16 грудня 2021 Поділитись Опубліковано: 16 грудня 2021 А какое в углекислотном давление при полной закачке? Посилання на коментар Поділитися на інших сайтах More sharing options...
7351 Опубліковано: 16 грудня 2021 Поділитись Опубліковано: 16 грудня 2021 6 годин тому, KIPOROVOD сказав: А какое в углекислотном давление при полной закачке? Технические характеристики "Баллон углекислотный 40л" Высота: 1360 мм; Диаметр: 219 мм; Вес :65 кг; Рабочее давление :150 атм; Цвет : «ЧЕРНЫЙ»; Испытательное давление 225 атм; Объем 40 литров remontcentr.com.ua/product/332-ballon-uglekislotnyj.html Посилання на коментар Поділитися на інших сайтах More sharing options...
_Qwazar_ Опубліковано: 16 грудня 2021 Поділитись Опубліковано: 16 грудня 2021 (змінено) 6 часов назад, KIPOROVOD сказал: А какое в углекислотном давление при полной закачке? Если хоть капля жидкой углекислоты есть в баллоне то при температуре от 0 до +20 давление будет 40-50 АТМ . При температуре ниже нуля может быть и 30 и 20 АТМ . При температуре выше 20 давление начнет расти и может быть и 60 и 70 АТМ при +32 . Вся кислота переходит в газообразное состояние и дальнейший рост температуры мало влияет на давление внутри баллона . Если давление продолжает расти то баллон перезаправлен и может рвануть , кислота уже не жидкость , но ещё и не газ , расширяться некуда и будет бабах . Но как правило баллоны недозаправляют и вместо допустимых 24 кг кислоты заправляют 20 и заправляют именно на весах про причине описанной выше ибо 24 кг кислоты при критической температуре смогут полностью перейти в газообразное состояние не разорвав баллон . А вот сколько там кислоты в реале ....100 грамм или 20 кг редуктор не покажет только весы . Вес самого баллона выбит на нем ))) Змінено 16 грудня 2021 користувачем _Qwazar_ 3 Посилання на коментар Поділитися на інших сайтах More sharing options...
Александр83 Опубліковано: 16 грудня 2021 Поділитись Опубліковано: 16 грудня 2021 Подскажите пожалуйста интересует полуавтомат сварочный выбор между Тесла 300,кайзер 305,ssva 180 посоветуйте, для кузовного ремонта Посилання на коментар Поділитися на інших сайтах More sharing options...
Leon26 Опубліковано: 17 грудня 2021 Поділитись Опубліковано: 17 грудня 2021 11 часов назад, Александр83 сказал: Подскажите пожалуйста интересует полуавтомат сварочный выбор между Тесла 300,кайзер 305,ssva 180 посоветуйте, для кузовного ремонта В такой ценовой категории я бы ещё этот добавил в список Посилання на коментар Поділитися на інших сайтах More sharing options...
_Qwazar_ Опубліковано: 17 грудня 2021 Поділитись Опубліковано: 17 грудня 2021 Поджиг адский Посилання на коментар Поділитися на інших сайтах More sharing options...
Leon26 Опубліковано: 17 грудня 2021 Поділитись Опубліковано: 17 грудня 2021 10 минут назад, _Qwazar_ сказал: Поджиг адский В режиме РДС? Посилання на коментар Поділитися на інших сайтах More sharing options...
Leon26 Опубліковано: 17 грудня 2021 Поділитись Опубліковано: 17 грудня 2021 В 28.10.2021 в 10:06, Dr.Yura сказал: також найшов відео... youtu.be/i7pKGXotibA Это не обзор, это реклама Кайзера.. Посилання на коментар Поділитися на інших сайтах More sharing options...
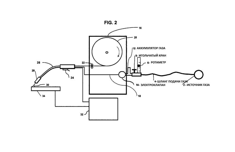
brat-h Опубліковано: 1 січня 2022 Поділитись Опубліковано: 1 січня 2022 (змінено) В 13.12.2021 в 15:21, KIPOROVOD сказал: Какой редуктор лучше купить для полуавтомата? В 14.12.2021 в 15:09, Tsoy сказал: Геркулес. Но если вам для бытовых нужд иногда, то подойдет и Донмет. В 16.12.2021 в 10:11, svARnoy сказал: Поддерживаю.... Для рядового пользователя Донмет отлично подойдет Самый популярный - универсальный для аргона и углекислоты АР-40/У-30ДМ Но если аргоном в обозримом будущем не будете варить, то берите чисто под углекислоту. Хотя разницы в цене там по сути нет В 16.12.2021 в 11:31, KIPOROVOD сказал: Разница то есть в цене. А чем лучше только углекислотный против универсального? Вот самый нормальный вариант сейчас: Редуктор кислородный баллонный БКО-50-4-2ДМ (это вроде пока что самый дешевый вариант, видать COVID-ные цены на кислородные редуктора) Выглядят они сейчас вот так: выходной штуцер 6/9 мм. Стоит он сейчас аж 781 грн. - на 110 грн. дешевле чем "крупногабаритные" расходомеры для аргона/углекислоты, и аж на 65 грн. дороже чем малоформатная и устаревшая серия разработанная "для газировки воды", типа: АР-40/У-30ДМ, УР-6ДМ, АР-40-2ДМ, У-30-2ДМ в которой просто слишком тупо сделали редукционный механизм с клапаном, который может легко перекоситься, и уже потом быстро пойдет в износ, подклинивание и т.п. Более новые и современные редукторы уже с клапанами вроде получше, есть некоторая защита от перекосов и, что лучше подходит для небольшого расхода и габаритов, - "дупло" или отверстие в седле клапана заметно меньше, и запираться он по идее должен легче, то есть с меньшим набором давления при закрытии, да и падение давления в баллоне приводит к меньшему подъему давления после клапана. Есть так же серия "осевых" редукторов: в них уже новый редукционный механизм, да и самая дешевая цена, при этом они выглядят заметно более "точеными", а не "литыми" как все остальные современные модификации, но надо все таки брать такой редуктор у которого есть манометры, вариант без манометров хорош только для портабельности и непродолжительных работ. Из "обнадеживающих" новостей - к этим редукторам уже продается ремкомплект редуцирующего узла в сборе: Вузел редукувальний до АР–40–4ДМ, АР-40/У-30-4ДМ и других осталось только найти продавцов в случае чего. Но это еще не все - для профессионального комплекта не хватает еще отдельного ротаметра со штуцерами для установки в разрез шланга: что будет стоить еще 508 грн., и это еще не все - между редуктором и ротаметром для экономии газа желательно поставить шланг/рукав с малым внутренним диаметром 3,2 мм: Рукав резинотканевый кислородный, вн. диаметр 3,5 мм на расстояние от ротаметра до газового клапана нужно где-то 20-30 см шланга на 6-9 мм, или 1,2 м шланга на 3,2 мм. Также в штуцер который подключается к самому газовому клапану нужно вставить "жиклер" с диаметром отверстия от 1 до 1,5 мм. ...и все это нужно для того чтобы получилась: Правильная система подключения защитного газа к MIG/MAG и TIG аппаратам. Суть системы в том что для профессиональной работы нужна такая система которая будет делать небольшой короткий и не резкий пшик для быстрой продувки самого сопла и места сварки перед началом сварки (то есть за пол-секунды), плюс в ней должен быть запас повышенного давления на случай сильных перегибов рукава горелки или сильного засорения сопла, чтобы из за такого внештатного узкого места не уменьшился общий объем газа подающегося в зону сварки. В общем, давление перед ротаметром/расходной дюзой/игольчатым краном должно быть хотя бы +/-1,6 атм. Можно сделать два варианта такой системы на уже имеющемся оборудовании: Вариант № 1. Редуктор + отдельный ротаметр возле аппарата или подающего - редуктор настраивается на то давление на котором должен работать ротаметр - обычно 3,5 атм., но есть варианты и на 1,5 атм. По ходу расходования баллона, давление корректируется на редукторе, а расход в свою очередь выставляется по ротаметру возле сварочного аппарата. Длину участка шланга от ротаметра до газового клапана подбирают так чтобы внутренний объем шланга был где-то 10 куб.см, то есть 16-20 см шланга диаметром 9 мм., или где-то 35-40 см для шланга диаметром 6 мм - это будет "аккумулятор газа для начального пшика". В штуцер перед клапаном вставить "жиклер" на 1-1,5 мм. для ограничения резкости начального пшика. Получится должна вот такая схема (справа баллон, а слева горелка - не показаны на схеме): или вот так более полная картинка: В таком варианте объем пшика будет одинаковым при разном уровне расхода газа, так как давление на редукторе должно поддерживаться одинаковым для точности показаний ротаметра, а сам расход регулируется игольчатым клапаном/краном. Вариант № 2 Взять обычный "регулятор расхода", выкрутить у него из выходного штуцера "расходную дюзу" (то есть сделать его просто редуктором), и поставить ее в этой системе вместо ротаметра - грубо говоря взять два штуцера для шланга с одинаковой резьбой - один папа, другой мама, и между ними вставить и зажать прокладками эту расходную дюзу, ну или самому сделать эту дюзу - просверлить в шайбе отверстие 0,75 мм для соответствия донметовским манометрам со шклалой расхода. Расход газа регулировать так же как и на обычном регуляторе расхода - устанавливать рабочее давление и по градуированной шкале на манометре рассчитывать расход. В такой системе объем пшика будет увеличиваться или уменьшаться вместе с расходом, так как будет меняться рабочее давление после редуктора. Почему это важно - долгий и нудный может получится разговор, но для тех кому это нужно: В паузах между сваркой в сопло входит атмосферный воздух (и с ним влага, если что). Во время интенсивной работы предгаз может не понравится некоторым сварщикам, поэтому небольшой пшик, длительностью в доли секунды будет полезен для быстрого начала сварки, чтобы в начале шва не было пор от водорода или азота, или чтоб не обгорал вольфрам у аргонщиков и лучше зажигалась дуга. Обычные системы "всё в одном узле" страдают от того, что из-за большой длины шлангов от редуктора-ротаметра или регулятора расхода с расходной дюзой в шлангах накапливается слишком много избыточного газа под давлением намного превышающим то, которое нужно для нормальной работы - то есть в шлангах накапливается слишком большой и долгий "пшик", который может выходить аж 5-10 сек, и только потом расход станет таким каким был настроен на ротаметре или регуляторе расхода, при этом скорость этого пшика может быть заметно выше чем максимально допустимые 25 л/мин для среднего сопла диаметром 16 мм. То есть получается и перерасход газа, и плохая газовая защита из за завихрений в начале сварки. С другой стороны системы с использованием оптимизаторов/экономайзеров, то есть двухступенчатых систем редукторов - они не дают пшика вообще (хотя не сильно заметный все же будет), да и в случае засорения сопла/перегибов горелки расход газа упадет ниже требуемого, то есть будет брак, выгорание вольфрама у аргонщиков, и такие вещи могут вынудить сварщиков накрутить подачу газа побольше - вот такая вот может получиться "оптимизация/экономизация". Прикол в том что дорогущие Optimator-ы и Optiflow-ы страдают от этих же проблем: И еще один нюанс - из за того что любой редуктор закрывается на несколько большем давлении чем настроенное рабочее давление при отборе газа, то даже и в такой системе длинные и широкие шланги будут приводить к несколько повышенному расходу газа, и может имеет смысл между редуктором и ротаметром или расходной дюзой ставить более узкие шланги, пусть хотя бы 6 мм. или может даже те же 3,2 мм. Так же у систем выдающих повышенное давление, то есть у обычных редукторов с ротаметром или с расходной дюзой, намного меньше стоит проблема обмерзания редуктора, да и с подклиниванием клапана тоже, что бывает на старых Донметовских моделях. В общем можно взять хоть большой, хоть маленький редуктор или регулятор расхода, установить у аппарата ротаметр или расходную дюзу, даже просто на самом аппарате, и через небольшой кусок шланга подключиться к клапану на аппарате, а в штуцер к клапану вставить"жиклер" на 1-1,5 мм... и все, логика настройки расхода вся та же... дерзайте PS: Ладно, есть еще более простой вариант - взять где-то 1,5 метра узкого шланга в 3,2 мм диаметром и штуцера для него, Ниппель MICRO Ниппель в сборе и им подключиться от регулятора расхода или ротаметра к сварочнику или подающемуо, но баллон соответственно должен стоять вплотную к аппарату. Змінено 2 січня 2022 користувачем brat-h 5 Посилання на коментар Поділитися на інших сайтах More sharing options...
brat-h Опубліковано: 3 січня 2022 Поділитись Опубліковано: 3 січня 2022 (змінено) Небольшой апгрейд в отношении Донметовских редукторов - в 21 г. они модифицировали все регуляторы расхода для аргона и углекислоты (может кроме серии "осевых" и "вертикальных", на них нет детальных схем, а в схеме которая прилагается в паспорте к "осевому", седло клапана сразу выточено в корпусе и обычный "новый" клапан). В общем во всех регуляторах расхода как с манометрами, так и с ротаметрами изменили клапана, седла и т.д. Вот такое было с 14-го года во всех больших редукторах новой серии: Типа отдельные клапан, седло, пружина. толкатель. В продаже в розницу этого всего особо вроде не было (ну может кроме пружин и толкателей, они от пропановых редукторов). По идее даже можно было пофантазировать о том как разобрать клапан и заменить ему уплотнительную прокладу, на фоне отсутствия запчастей... 🙄 Вот такое сделали в 21-м году, выложили в новом каталоге на украинском языке, ну и на своем сайте добавили в запчасти позицию "Вузел редукувальний до АР–40–4ДМ, АР-40/У-30-4ДМ и других" Вот так вот он выглядит в новом каталоге: В общем сделали как у GCE. По идее должно быть совместимо с предыдущими редукторами. Клапан получился вообще каким-то миниатюрным, а все наверное потому, что хотели новый клапан сделать совместимым и с "малогабаритной" серией редукторов. Вот новый чертеж редукционного узла "малогабаритных" редукторов: Хотя визуальная разница у них вроде есть - в глубине входа толкателя, может еще в чем... Видать народ не оценил "одноразовость" крупногабаритных редукторов из-за недоступности запчастей. Да и малогабаритные может уж слишком "дешево" выглядели со старыми клапанами... ну да, слишком дешево их можно было отремонтировать, наверное. 😄 Кислородные редуктора остались неизменными, хотя некоторые коды запчастей немного поменялись (в большом кислородном остались как на первой картинке, в маленьком - как на следующей): Змінено 3 січня 2022 користувачем brat-h 4 Посилання на коментар Поділитися на інших сайтах More sharing options...
tomkol Опубліковано: 8 січня 2022 Поділитись Опубліковано: 8 січня 2022 Можно ещё интереснее замутить))) 4 Посилання на коментар Поділитися на інших сайтах More sharing options...
brat-h Опубліковано: 9 січня 2022 Поділитись Опубліковано: 9 січня 2022 Оборудование для много-компонентных смесей для сварки нержавейки на ПА. Продаваны нашли себе хорошего клиента... интересно что они ему перед аппаратом поставили. Посилання на коментар Поділитися на інших сайтах More sharing options...
tomkol Опубліковано: 10 січня 2022 Поділитись Опубліковано: 10 січня 2022 (змінено) 4 часа назад, brat-h сказал: Оборудование для много-компонентных смесей для сварки нержавейки на ПА. Продаваны нашли себе хорошего клиента... интересно что они ему перед аппаратом поставили. Это на заводике, где я работаю, такое оборудование недавно установили. Чистую нержавейку сваривать не проблема, а вот сварка нержавейки с чугуном как раз проблематична. Трещат швы. Уже и всякие спецпроволоки разных составов пробовали, и смеси из трёх-четырех газов. Всё равно после робота часть сваренных деталей приходится вручную исправлять, предварительно вырезав трещины, и заваривать, используя в качестве присадки чистый никель. Змінено 10 січня 2022 користувачем tomkol 1 Посилання на коментар Поділитися на інших сайтах More sharing options...
tomkol Опубліковано: 15 січня 2022 Поділитись Опубліковано: 15 січня 2022 Вот, как раз вчера такие детали исправлял Посилання на коментар Поділитися на інших сайтах More sharing options...
brat-h Опубліковано: 16 січня 2022 Поділитись Опубліковано: 16 січня 2022 Н-да... ну все равно, продаваны нашли себе хорошего клиента, который готов лепить смеси и даже варить в гелии лишь бы не греть чугун перед сваркой. Посилання на коментар Поділитися на інших сайтах More sharing options...
tomkol Опубліковано: 16 січня 2022 Поділитись Опубліковано: 16 січня 2022 (змінено) 6 часов назад, brat-h сказал: Н-да... ну все равно, продаваны нашли себе хорошего клиента, который готов лепить смеси и даже варить в гелии лишь бы не греть чугун перед сваркой. Думаете, чехи настолько глупые? Естественно, каждая деталь перед сваркой нагревается с помощью индукционной катушки. И перед ручной правкой дефектов швов тоже обязательно предподогрев делается. Просто проблема в том, что свариваются разнородные сплавы, имеющие, соответственно, разные коэффициенты теплового расширения. Да ещё и сам шов по замкнутому контуру идёт. А ещё и чугун от поставщика идёт в консервационной смазке. Её техническим спиртом смывают, но, понятное дело, из такого пористого сплава невозможно весь жир вымыть. Змінено 16 січня 2022 користувачем tomkol Посилання на коментар Поділитися на інших сайтах More sharing options...
Рекомендовані повідомлення
Створіть акаунт або увійдіть у нього для коментування
Ви маєте бути користувачем, щоб залишити коментар
Створити акаунт
Зареєструйтеся для отримання акаунта. Це просто!
Зареєструвати акаунтУвійти
Вже зареєстровані? Увійдіть тут.
Увійти зараз