Andrei constructor Опубліковано: 18 березня 2013 Поділитись Опубліковано: 18 березня 2013 поперечная арматура считается рабочая ,а продольная конструктивная Если фундамент жесткий, а не гибкий, то вся арматура в подошве фундамента ставится конструктивно (т.е. без расчета). Посилання на коментар Поділитися на інших сайтах More sharing options...
plywoods Опубліковано: 18 березня 2013 Автор Поділитись Опубліковано: 18 березня 2013 Если фундамент жесткий, а не гибкий Это примерно как? Что значит жесткий фундамент, а что - гибкий? ) Посилання на коментар Поділитися на інших сайтах More sharing options...
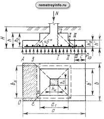
Andrei constructor Опубліковано: 18 березня 2013 Поділитись Опубліковано: 18 березня 2013 Это примерно как? Что значит жесткий фундамент, а что - гибкий? ) Вот на картинке пунктиром показана так наз. призма продавливания. Если ее нижнее основание призмы больше чем ширина подошвы фундамента, то жесткий фундамент, если нет - то гибкий. Т.о. на картинке показан гибкий фундамент. Посилання на коментар Поділитися на інших сайтах More sharing options...
plywoods Опубліковано: 18 березня 2013 Автор Поділитись Опубліковано: 18 березня 2013 Не совсем из картинки понятно. Вот в моем случае, монолитная подушка - основание - шириной 1 метр, выше нее 3 ряда фбс - это жесткий фундамент или гибкий? ) Посилання на коментар Поділитися на інших сайтах More sharing options...
Andrei constructor Опубліковано: 18 березня 2013 Поділитись Опубліковано: 18 березня 2013 Не совсем из картинки понятно. Вот в моем случае, монолитная подушка - основание - шириной 1 метр, выше нее 3 ряда фбс - это жесткий фундамент или гибкий? ) В вашем случае если ФБС установить толщиной 400 или 500 мм, то будет жесткий фундамент, а если 300 мм ФБС, то уже гибкий фундамент. 1 Посилання на коментар Поділитися на інших сайтах More sharing options...
plywoods Опубліковано: 19 березня 2013 Автор Поділитись Опубліковано: 19 березня 2013 В вашем случае если ФБС установить толщиной 400 или 500 мм, то будет жесткий фундамент, а если 300 мм ФБС, то уже гибкий фундамент. Да, не указал, фбс - 4 ка Посилання на коментар Поділитися на інших сайтах More sharing options...
trimet Опубліковано: 19 березня 2013 Поділитись Опубліковано: 19 березня 2013 Доброе время суток. Может немного не по теме, но это Вам точно пригодится! Хотел предложить Вам арматуру и прочий металлопрокат со склада в Киеве. Подробная информация по телефонам: 223-68-89; 093-610-89-10 Евгений или у нас на сайте: www.trimet.com.ua Будем рады Вам помочь. Посилання на коментар Поділитися на інших сайтах More sharing options...
plywoods Опубліковано: 19 березня 2013 Автор Поділитись Опубліковано: 19 березня 2013 Может немного не по теме, но это Вам точно пригодится! Спасибо за рекламу, но думаю, что точно НЕ пригодится. На то есть 2 причины: 1- я нахожусь в г. Харьков. 2- судя по ценам указанным в ваших прайсах, у нас арматура дешевле Посилання на коментар Поділитися на інших сайтах More sharing options...
raveman Опубліковано: 21 квітня 2015 Поділитись Опубліковано: 21 квітня 2015 Возможно глупый вопрос, но на всех схемах подушек продольная арматура лежит на поперечной и так вяжется, а если наоборот сначала укладивать продольную, а на нее поперечную. Есть ли какая-то разница. Пишу в этой теме, так как тут затрагивается работа арматуры. На сколько неправильно если сделать на оборот)))) Посилання на коментар Поділитися на інших сайтах More sharing options...
Andrei constructor Опубліковано: 21 квітня 2015 Поділитись Опубліковано: 21 квітня 2015 Возможно глупый вопрос, но на всех схемах подушек продольная арматура лежит на поперечной и так вяжется, а если наоборот сначала укладивать продольную, а на нее поперечную. Есть ли какая-то разница. Пишу в этой теме, так как тут затрагивается работа арматуры. На сколько неправильно если сделать на оборот)))) Есть ленточные фундаменты жесткие, а есть гибкие. В жестких ленточных фундаментах арматурная сетка устанавливается конструктивно (т.е. без расчета) Поэтому там положение стержней может быть любым. В гибких ленточных фундаментах расчетный изгибающий момент возникает в поперечном направлении. Этот момент воспринимают стержни, уложенные поперек ленты, поэтому их для увеличения плеча пары сил укладывают снизу. 1 Посилання на коментар Поділитися на інших сайтах More sharing options...
raveman Опубліковано: 21 квітня 2015 Поділитись Опубліковано: 21 квітня 2015 Есть ленточные фундаменты жесткие, а есть гибкие. В жестких ленточных фундаментах арматурная сетка устанавливается конструктивно (т.е. без расчета) Поэтому там положение стержней может быть любым. В гибких ленточных фундаментах расчетный изгибающий момент возникает в поперечном направлении. Этот момент воспринимают стержни, уложенные поперек ленты, поэтому их для увеличения плеча пары сил укладывают снизу. Как я понимаю в малоэтажном строительстве, при нормальных грунтах в 99,99% контруктора залаживают жесткие фундаменты? Посилання на коментар Поділитися на інших сайтах More sharing options...
Andrei constructor Опубліковано: 21 квітня 2015 Поділитись Опубліковано: 21 квітня 2015 Как я понимаю в малоэтажном строительстве, при нормальных грунтах в 99,99% контруктора залаживают жесткие фундаменты? Можно сказать, что примерно так. Посилання на коментар Поділитися на інших сайтах More sharing options...
Рекомендовані повідомлення
Створіть акаунт або увійдіть у нього для коментування
Ви маєте бути користувачем, щоб залишити коментар
Створити акаунт
Зареєструйтеся для отримання акаунта. Це просто!
Зареєструвати акаунтУвійти
Вже зареєстровані? Увійдіть тут.
Увійти зараз