Trast Опубліковано: 25 березня 2012 Поділитись Опубліковано: 25 березня 2012 Мы видим, что на ста метрах допустимое падение напряжение при номинальном токе двигателя обеспечит сечение 2,5 мм2. Однако пуск будет несколько затруднён, что может привести к перегреву изоляции обмоток. Да и при перегрузке на валу мощность упадёт, потому лучше выбрать сечение 4 мм2. 2. Для присоединения подобных механизмов предназначен провод ПВС, то бишь ПВС 3х4. 3. Подключаться агрегат должен только через УЗО (подавляющее большинство бытовых смертельных электротравм - от эксплуатации электроприборов вне зданий, незаземлённых и незащищённых). sanykrimea, хочу прояснить ещё один вопрос. У меня вилка на культиваторе двухполюсная, не "евростандарт", без заземляющего контакта. Чтобы обеспечить заземление, достаточно поменять вилку на евростандарт или надо и кабель менять от вилки к элдвигателю? Спасибо. Посилання на коментар Поділитися на інших сайтах More sharing options...
karapuz74 Опубліковано: 25 березня 2012 Поділитись Опубліковано: 25 березня 2012 заменой вилки "землю" на культиватор не подвести. Провод скорее всего двухжильный. Поэтому вкупе с вилкой берем КГ или ПВС 3*4 1 Посилання на коментар Поділитися на інших сайтах More sharing options...
m2v Опубліковано: 26 березня 2012 Поділитись Опубліковано: 26 березня 2012 Пора покупать и закладывать кабель для подключения электроплиты и электродуховки. С типом кабеля вроде определился ВВГнг, а вот с количеством жил и сечением ни как не определюсь. К дому подведены 3 фазы 15 кВт, плиты и духовки в наличии нет и какие будут сказать на данный момент тяжело. Как понял современные эл. плиты достигают мощности до 7,5 кВт, и вроде как имеют одно и двухфазное подключение (плохо, что в характеристиках не пишут). Подскажите какой кабель надо купить, как говорится "на все случаи жизни"? Подойдет ли для электроплиты 5х4мм, а для духовки - 3х2,5мм? Посилання на коментар Поділитися на інших сайтах More sharing options...
Serg-Solar Опубліковано: 26 березня 2012 Поділитись Опубліковано: 26 березня 2012 Подойдет ли для электроплиты 5х4мм, а для духовки - 3х2,5мм? Духовка 3*4мм. Посилання на коментар Поділитися на інших сайтах More sharing options...
m2v Опубліковано: 26 березня 2012 Поділитись Опубліковано: 26 березня 2012 А для плиты? Посилання на коментар Поділитися на інших сайтах More sharing options...
Alvoovla Опубліковано: 26 березня 2012 Поділитись Опубліковано: 26 березня 2012 А они были, вопросы-то? Почитайте свой же пост.......точняк - клиника.... уверены???? Добавлено через 45 секунд Товарищ ГИП, ну не все Вас не любят. Знаю по роду службы многих ГИПов - вполне вменяемые люди, и стопарик пропустят, и закусить хорошо не против... возможно.... Добавлено через 23 минуты Вот номограмма допустимого падения напряжения (4%) в зависимости от тока, длины и сечения проводников: Для однофазной системы (220 В) длина уменьшается вдвое, для алюминиевых проводников - в 1,6 раза. Что мы видим? Мы видим, что при максимальном потребляемом инвертором токе 16 А допустимое падение напряжения на сечении медь 2,5 мм2 обеспечивается при длине линии не более 35 м. То бишь заявленых максимальных параметров работы инвертора на длине более 35 м - не достичь. Алюминиевый кабель применяется только для стационарной проводки. Для инвертора нужен ПВС с 6 классом гибкости жилы. Для 50 м - ПВС 3х4 мм2 я что только один вижу что при 16А нагрузки длина кабеля в 2,5мм2, 70 м???? Посилання на коментар Поділитися на інших сайтах More sharing options...
sanykrimea Опубліковано: 26 березня 2012 Автор Поділитись Опубліковано: 26 березня 2012 я что только один вижу что при 16А нагрузки длина кабеля в 2,5мм2, 70 м???? В трёхфазной системе. Посилання на коментар Поділитися на інших сайтах More sharing options...
Alvoovla Опубліковано: 26 березня 2012 Поділитись Опубліковано: 26 березня 2012 В трёхфазной системе. сорри ... виноват... ... хотя электрик дает при 4 кВт (18,2 А) всего 43 метра при падение до 5 % Посилання на коментар Поділитися на інших сайтах More sharing options...
sanykrimea Опубліковано: 26 березня 2012 Автор Поділитись Опубліковано: 26 березня 2012 хотя электрик дает при 4 кВт (18,2 А) всего 43 метра при падение до 5 % Кто такой электрик против МЭК 60364-6:2006 ? Посилання на коментар Поділитися на інших сайтах More sharing options...
m2v Опубліковано: 27 березня 2012 Поділитись Опубліковано: 27 березня 2012 Ув. sanykrimea, можете ответить на мой вопрос в сообщении №1182. Посилання на коментар Поділитися на інших сайтах More sharing options...
karapuz74 Опубліковано: 27 березня 2012 Поділитись Опубліковано: 27 березня 2012 Да проложите один кабель 5*4. Хватит и на духовку и на печку 1 Посилання на коментар Поділитися на інших сайтах More sharing options...
sanykrimea Опубліковано: 27 березня 2012 Автор Поділитись Опубліковано: 27 березня 2012 Да проложите один кабель 5*4. Хватит и на духовку и на печку Хватит. 2 фазы - на поверхность, 1 - на духовку. (ссылка устарела) 1 Посилання на коментар Поділитися на інших сайтах More sharing options...
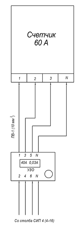
silver8848 Опубліковано: 28 березня 2012 Поділитись Опубліковано: 28 березня 2012 Добрый день. Вопрос от дилетанта. Можно подключить ввод СИП-4 на УЗО к контактам 2-4-6, а вывод с УЗО к счетчику на 1-3-5. УЗО будет работать? Иди ввод обязательно подключать на 1-3-5 контакт, а вывод на 2-4-6? Посилання на коментар Поділитися на інших сайтах More sharing options...
karapuz74 Опубліковано: 28 березня 2012 Поділитись Опубліковано: 28 березня 2012 Про тему правильности подключения немало копий сломано. В своем большинстве подключение рекомендовано к неподвижным контактам, то бишь сверху. 1-3-5 И еще... при подключении СиПА используйте клеммные наконечники. Многожилка плохо в автомате обжимается 1 Посилання на коментар Поділитися на інших сайтах More sharing options...
silver8848 Опубліковано: 28 березня 2012 Поділитись Опубліковано: 28 березня 2012 Про тему правильности подключения немало копий сломано. В своем большинстве подключение рекомендовано к неподвижным контактам, то бишь сверху. 1-3-5 И еще... при подключении СиПА используйте клеммные наконечники. Многожилка плохо в автомате обжимается Выяснил, что так как я нарисовал делать нельзя: 1. по умолчанию завод провода делают сверху. 2. при отключении электричества под напряжением остаются все цепи обеспечивающие работу УЗО Смысл применять клеммные наконечники, провод обжимать что в автомате, что в клеммнике одно и тоже только появляется промежуточная цепочка Посилання на коментар Поділитися на інших сайтах More sharing options...
karapuz74 Опубліковано: 28 березня 2012 Поділитись Опубліковано: 28 березня 2012 Смысл применять клеммные наконечники, провод обжимать что в автомате, что в клеммнике одно и тоже только появляется промежуточная цепочка При обжиме наконечником пучок алюминиевых проводов превратиться в монолит. Такой наконечник качественно обожмется в автоматическом выключателе. Многожилка так никогда не обожмется. Часть жил будет просто болтаться в автомате. Токопроводящие сечение уменьшится. Жила нагревается. Нагрревается и автомат. Дальше продолжать не буду 2 Посилання на коментар Поділитися на інших сайтах More sharing options...
silver8848 Опубліковано: 28 березня 2012 Поділитись Опубліковано: 28 березня 2012 При обжиме наконечником пучок алюминиевых проводов превратиться в монолит. Такой наконечник качественно обожмется в автоматическом выключателе. Многожилка так никогда не обожмется. Часть жил будет просто болтаться в автомате. Токопроводящие сечение уменьшится. Жила нагревается. Нагрревается и автомат. Дальше продолжать не буду Для обжимки СИП4 нужен спец инструмент? Я в щитке соединения буду делать проводом ПВ-1 (10 мм.кв.). Провод ПВ-1 считается монолит, ПВ-3 многожильный. Мне продали ПВ-1 состоящий из 7 жил диаметром примерно 1,25-1,3 мм. Сказали что он считается монолитом. Это правда? Посилання на коментар Поділитися на інших сайтах More sharing options...
Шарманщик Опубліковано: 28 березня 2012 Поділитись Опубліковано: 28 березня 2012 Для обжимки СИП4 нужен спец инструмент? Я в щитке соединения буду делать проводом ПВ-1 (10 мм.кв.). Провод ПВ-1 считается монолит, ПВ-3 многожильный. Мне продали ПВ-1 состоящий из 7 жил диаметром примерно 1,25-1,3 мм. Сказали что он считается монолитом. Это правда? Нет. Подобное можно было бы допустить начиная с 16мм2.... да и то - у иноземцев... А так - банальная пересортица на складе... Посилання на коментар Поділитися на інших сайтах More sharing options...
karapuz74 Опубліковано: 29 березня 2012 Поділитись Опубліковано: 29 березня 2012 Самое интересное, что ПВ1 на разных заводах выпускается и моножилой и многожильным. У каждого свои стандарты С чем это связано, не наю... По идее, ПВ1-это моножила, а ПВ3-многожилка. Но Вам прийдется применять наконечники и в СиПе, и в ПВ1. Бо запломбируют ящик и не будет доступа для проверки контактов. Применить потребуется опрессователь. Можно его и напрокат будет взять Посилання на коментар Поділитися на інших сайтах More sharing options...
Energon Опубліковано: 29 березня 2012 Поділитись Опубліковано: 29 березня 2012 зачем на СИП наконечники)) Большенство нормальных автоматов, даж тот Хагер взять, допускает подключение маложильных кабелей(наверно сюда относиться и СИП). У них форма контакта такая. Если взять Аско, ИЕК, Енеxt то там да, хреново зажимаеться. И приходиться подтягивать. А вот на счетчик НИК например, то конечно лучше взять наконечник опресовать, так как форма болта режет проволки кабеля, уменьшает сечение его, и надежность контакта. Возьмите настоящий ПВ-1, цельный купите метра вам по идее хватит, и им подключите вводной автомат и счетчик ваш. Посилання на коментар Поділитися на інших сайтах More sharing options...
silver8848 Опубліковано: 29 березня 2012 Поділитись Опубліковано: 29 березня 2012 (змінено) Возьмите настоящий ПВ-1, цельный купите метра вам по идее хватит, и им подключите вводной автомат и счетчик ваш. Дело в том, что уже все купил и собрал. УЗО -Хагер, автоматы -EATON, счетчик Меркурий. У всех зажимные клеммы через плоские шайбы, так что винт ничего не режет. В счетчике вообще клемма на 2 винта и длинная прямоугольная прижимная шайба примерно 7*15 мм. Позднее выложу фото того что собрал. Вопрос по СИП-4, предлагают производства Интеркабель (Киев) на заказ, цена более-менее (10,9 грн/м.п. при заказе 80 м), но в живую я его не видел, только под заказ. Кто знает у них продукция качественная? Змінено 29 березня 2012 користувачем silver8848 Посилання на коментар Поділитися на інших сайтах More sharing options...
silver8848 Опубліковано: 29 березня 2012 Поділитись Опубліковано: 29 березня 2012 Белый провод ПВ-1 (10 мм.кв.), черный ВВГ 2,5*3 - вывел для временных розеток. Для заземления в левом нижнем углу на DIN - рейке будет шина(такая же как и для "N"). Сверху в УЗО будет заведен СИП-4(4*16) Посилання на коментар Поділитися на інших сайтах More sharing options...
Energon Опубліковано: 29 березня 2012 Поділитись Опубліковано: 29 березня 2012 не спишите пожалуйста это ставить, то нада все переделывать. Просто времени нету отписать, ввечером или я или кто то до меня вам укажет на допущенные вами ошибки. Посилання на коментар Поділитися на інших сайтах More sharing options...
silver8848 Опубліковано: 29 березня 2012 Поділитись Опубліковано: 29 березня 2012 не спишите пожалуйста это ставить, то нада все переделывать. Просто времени нету отписать, ввечером или я или кто то до меня вам укажет на допущенные вами ошибки. Жду, с удовольствием выслушаю замечания Посилання на коментар Поділитися на інших сайтах More sharing options...
А.Р.Бородач Опубліковано: 29 березня 2012 Поділитись Опубліковано: 29 березня 2012 silver8848, 1) вместо 3 однофазных автоматов необходимо поставить один 3 или 4 полюсный. 2) Необходимо поменять местами УЗО и автомат. Очень сомневаюсь в том, что СИП поместится в отведенное ему место, лучше сделать ввод снизу автомата, а на счетчик пустить ПВ-1 сверху. Заземление TN-C-S или ТТ? Если первое, то соеденить необходимо следующим образом: С вводного СИП фазы подключить на автомат (3п или 4п), а нейтраль - сразу на шину заземления, к шине подключить заземляющий контур и от шины проводом ПВ-1 взять нейтраль на автомат (в случае 4п автомата) или сразу на счетчик (в случае 3п), С счетчика все 4 провода на УЗО, после которого уже взять ноль на вторую шину. Если же схема ТТ, то нейтраль сразу на счетчик или автомат (опять таки, в зависимости от автомата). 3) Синяя изолента ТОЛЬКО на нейтрали. На третью фазу оставьте просто белый провод. Посилання на коментар Поділитися на інших сайтах More sharing options...
Рекомендовані повідомлення
Створіть акаунт або увійдіть у нього для коментування
Ви маєте бути користувачем, щоб залишити коментар
Створити акаунт
Зареєструйтеся для отримання акаунта. Це просто!
Зареєструвати акаунтУвійти
Вже зареєстровані? Увійдіть тут.
Увійти зараз