Mentor Опубліковано: 5 листопада 2008 Поділитись Опубліковано: 5 листопада 2008 (змінено) Нелюблю некунструктивную критику- зделайте сами чтото а потом трепайтесь, чесно достали трепачи!!!!! Куда Модераторы смотрят!. Забаньте этого нехорошего человека. Тоже мне......критику он не любит. Вот вам конструктивно: -я так понимаю что данная система интересна только в комерческом применении (дом под ключ) своими силами строить из 3х метровых панелей неособо интересно (сколько потянет аренда подкосов, "у"образных профилей и т.д.?) "термодом" тем и интересен что его может построить любой! здесь уже чувствуеться промышленный подход -Гемор с выставлением, заливкой, контролем за геометрией, и еще в довесок ко всему - немаленькая цена! Убиццо! Вполне была бы конкурентна при наличии панелей не выше 50 см и по цене сопоставимой с термоблоками, тогда можна было бы говорить о монолитности луччей, пожаростойкости..... А вообще идеальна для быстрого возведения небольших городков-поселков, например для пострадавших от наводнения. -ясно становиться что еще частный застройщик должен где-то взять упоры и опалубку , покупать - глупо , арендовать ? Ясно что под ручную заливку это катострофически не годиться . Думаю этого будет достаточно. Из всего сказанного вывод: Для частников не годится!!! Выгод перед тем же термодомом - никаких! и уж личное - трепач тут в ветке один - ВЫ! Потому как именно от Вас никаких конструктивных обоснований ЛУЧШЕСТИ данной технологии не поступило. Примитивное обгаживание конкурентов, надуманные и необьективные плюсы, продвигаемой Вами продукции , да еще и хамское отношения к другим участникам форума! Змінено 5 листопада 2008 користувачем Mentor ошибки Цитата Посилання на коментар Поділитися на інших сайтах More sharing options...
Гість Соболь Опубліковано: 5 листопада 2008 Поділитись Опубліковано: 5 листопада 2008 w000000w я не спец, но готовлюсь строить дом и пока пытаюсь разобратся в способах постройки домов в которых сочитается выгодней всего минимумы материала+скорость+трудоресурсы=теплый крепкий дом Скорость стройки мне понятна и, пожалуй, сходство по характеристикам с термодомом тоже наблюдается, здесь вопросов нет. Правильно я понимаю что фундамент вы тоже по той же методике делаете? Я не совсем понял, как вы поймете, что бетон равномерно распределился по полостям конструкции и нет пустот? Еще на картинках я заметил местами разломанный пенополистирол, с чем это связанно? Можно использовать не ваши перекрытия и сколько строит работа рабочих строящий такой дом? Еще не совсем понял, чем проще в отделке ваша технология по сравнению с термодомом? Заранее спасибо Цитата Посилання на коментар Поділитися на інших сайтах More sharing options...
w000000w Опубліковано: 5 листопада 2008 Автор Поділитись Опубліковано: 5 листопада 2008 w000000w я не спец, но готовлюсь строить дом и пока пытаюсь разобратся в способах постройки домов в которых сочитается выгодней всего минимумы материала+скорость+трудоресурсы=теплый крепкий дом Скорость стройки мне понятна и, пожалуй, сходство по характеристикам с термодомом тоже наблюдается, здесь вопросов нет. Правильно я понимаю что фундамент вы тоже по той же методике делаете? Я не совсем понял, как вы поймете, что бетон равномерно распределился по полостям конструкции и нет пустот? Еще на картинках я заметил местами разломанный пенополистирол, с чем это связанно? Можно использовать не ваши перекрытия и сколько строит работа рабочих строящий такой дом? Еще не совсем понял, чем проще в отделке ваша технология по сравнению с термодомом? Заранее спасибо Вам проще сконтактироватся с нами по тел 80674049560 , и я постараюсь ответить на все ваши вопросы. По поводу стыков, на момент производства панелей которые мы использовали при строительстве дома что на фото, с США было поставлено не все оборудование, и панели были без замков, сейчас все ОК! Перекрытие любое, разница только будет в расчетах толщин стен, относительно нагрузок. Цитата Посилання на коментар Поділитися на інших сайтах More sharing options...
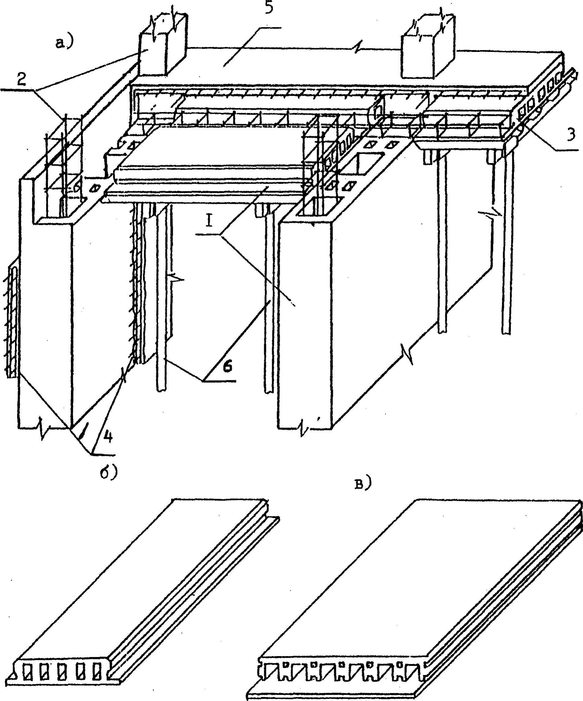
w000000w Опубліковано: 5 листопада 2008 Автор Поділитись Опубліковано: 5 листопада 2008 (змінено) Куда Модераторы смотрят!. Забаньте этого нехорошего человека. Тоже мне......критику он не любит. Вот вам конструктивно: -я так понимаю что данная система интересна только в комерческом применении (дом под ключ) своими силами строить из 3х метровых панелей неособо интересно (сколько потянет аренда подкосов, "у"образных профилей и т.д.?) "термодом" тем и интересен что его может построить любой! здесь уже чувствуеться промышленный подход -Гемор с выставлением, заливкой, контролем за геометрией, и еще в довесок ко всему - немаленькая цена! Убиццо! Вполне была бы конкурентна при наличии панелей не выше 50 см и по цене сопоставимой с термоблоками, тогда можна было бы говорить о монолитности луччей, пожаростойкости..... А вообще идеальна для быстрого возведения небольших городков-поселков, например для пострадавших от наводнения. -ясно становиться что еще частный застройщик должен где-то взять упоры и опалубку , покупать - глупо , арендовать ? Ясно что под ручную заливку это катострофически не годиться . Думаю этого будет достаточно. Из всего сказанного вывод: Для частников не годится!!! Выгод перед тем же термодомом - никаких! и уж личное - трепач тут в ветке один - ВЫ! Потому как именно от Вас никаких конструктивных обоснований ЛУЧШЕСТИ данной технологии не поступило. Примитивное обгаживание конкурентов, надуманные и необьективные плюсы, продвигаемой Вами продукции , да еще и хамское отношения к другим участникам форума! Вы пожалуста покультурнее рекламируйте свою продукцию, а то чесно достало то что 5 лет назад некоторые кричали термодом Го....но, а теперь глоку рвут чтобы впихнуть то что пластбау сделало гаражи строить. Прошу учасников Форума просмотреть развитие изобритателя системы фирму пластбау. И почему появилось пластбау 2, 3. И все сами поймете кто прав. Выставляю картинку из дбн "ТЕРМОДОМ" - почуствуйте разницу между тем что Вам продают и тем что должно быть Змінено 5 листопада 2008 користувачем w000000w Цитата Посилання на коментар Поділитися на інших сайтах More sharing options...
Vl@dimir Опубліковано: 5 листопада 2008 Поділитись Опубліковано: 5 листопада 2008 Думаю что как бы " Своими рученьками" и не старатся в 270- 300 уе утепленную коробку с перекрытиями Вы не построите... А вот зря вы так говорите! В 250 за квадрат - коробку уложил. При том что своего времени не было - строители строили, а так бы и 200-210 получилось бы точно! Цитата Посилання на коментар Поділитися на інших сайтах More sharing options...
w000000w Опубліковано: 5 листопада 2008 Автор Поділитись Опубліковано: 5 листопада 2008 А вот зря вы так говорите! В 250 за квадрат - коробку уложил. При том что своего времени не было - строители строили, а так бы и 200-210 получилось бы точно! Неспорю, мы уладываемся в 300, но дальнейшие работы получаются значительно дешевле засчет полипропиленовых шайб (450 советский ключ) Да и стена сплошная а не сито заполненое пенопластом. Цитата Посилання на коментар Поділитися на інших сайтах More sharing options...
Vl@dimir Опубліковано: 5 листопада 2008 Поділитись Опубліковано: 5 листопада 2008 А по-поводу монолита, пенопласта, бетона.. Все мы ищем красивые места, кому озерцо, речка, лесок, а свои же дома из бетона!?! Непонимаю! Вроде уходим из города, из вредного бетона, загазованного города, и всё равно в бетон себя вмуровываем + непонятно какой вредности ещё пенопласт. Помню при союзе пенопласт считали чуть ли не самым вредным, что можно было в то время найти. А сегодня, кругом бетон, полимер соединения, скоро из урановых отходов строить будем и так же с пеной у рта доказывать, что мол круто и до безобразия дешёво! Непонимаю?! разве с того же кирпича не дешевле? Возможно чуть-чуть дольше по времени займет стройка, зато не будут болеть родные и близкие вам люди. Для себя же строим. Цитата Посилання на коментар Поділитися на інших сайтах More sharing options...
Vl@dimir Опубліковано: 5 листопада 2008 Поділитись Опубліковано: 5 листопада 2008 Неспорю, мы уладываемся в 300, но дальнейшие работы получаются значительно дешевле засчет полипропиленовых шайб (450 советский ключ) Да и стена сплошная а не сито заполненое пенопластом. Это с крышей? с материалами? с окнами? с черным полом? Цитата Посилання на коментар Поділитися на інших сайтах More sharing options...
w000000w Опубліковано: 5 листопада 2008 Автор Поділитись Опубліковано: 5 листопада 2008 А по-поводу монолита, пенопласта, бетона.. Все мы ищем красивые места, кому озерцо, речка, лесок, а свои же дома из бетона!?! Непонимаю! Вроде уходим из города, из вредного бетона, загазованного города, и всё равно в бетон себя вмуровываем + непонятно какой вредности ещё пенопласт. Помню при союзе пенопласт считали чуть ли не самым вредным, что можно было в то время найти. А сегодня, кругом бетон, полимер соединения, скоро из урановых отходов строить будем и так же с пеной у рта доказывать, что мол круто и до безобразия дешёво! Непонимаю?! разве с того же кирпича не дешевле? Возможно чуть-чуть дольше по времени займет стройка, зато не будут болеть родные и близкие вам люди. Для себя же строим. В чемто с Вами согласен, но во первых пенопласт пенопласту рознь. если взять то что сегодня продается полностю с вами согласен! запуская производство мы искали пенопласт который должен соответсвовать нормам. Ничего с етого не получилось. На рынке полный обман. Мы используем в производстве ППС 35. Тоисть 35 кг пенополистирола без учета влаги на 1 м.куб. На рынке же ППС 35 ето 20-максимум 22, куча вторички. Сами понимаете какие теплоизоляционные показатили возможно получить , а за что платим деньги.... А за добавки для сомозатухания и другие даже тему поднимать не хочу.... Проблему мы решили, да и другого пути небыло так как если использовать ниже просто разорвет при заливке панель. Насчет вредноти - холодильник, зубная щетка, одноразовые тарелки .... и т д, все пенополистирол с прямым контаком, а тут под 20 мм гипсокартона, даже если Вы считаете его вредным. Цитата Посилання на коментар Поділитися на інших сайтах More sharing options...
w000000w Опубліковано: 5 листопада 2008 Автор Поділитись Опубліковано: 5 листопада 2008 Это с крышей? с материалами? с окнами? с черным полом? Да при площади этажа 100 м. квд, мы вложились с запасом Цитата Посилання на коментар Поділитися на інших сайтах More sharing options...
Vl@dimir Опубліковано: 5 листопада 2008 Поділитись Опубліковано: 5 листопада 2008 Насчет вредноти - холодильник, зубная щетка, одноразовые тарелки .... и т д, все пенополистирол с прямым контаком, а тут под 20 мм гипсокартона, даже если Вы считаете его вредным. Как говорится: в бизнесе, как на войне, все средства хороши. Но это лирика... В моем доме пенопласта нет и не будет! Снаружи, как утепление - да, но до него ещё 40 см ракушки. Ну а если уж говорить, то холодильник вреден когда герметизация нарушена. А вообще на сегодняшний день из натурального это стекло, дерево и металл. понравилось в штатах, дома из дерева, кто побогаче - из камня, но не из бетона! Экологию стараются беречь - полотенца бумажные, стаканчики, тарелочки одноразовые бумажные. Зато как элементы декора (заборчик например ) пенопласт, НО он на улице а не в доме. Цитата Посилання на коментар Поділитися на інших сайтах More sharing options...
w000000w Опубліковано: 5 листопада 2008 Автор Поділитись Опубліковано: 5 листопада 2008 Как говорится: в бизнесе, как на войне, все средства хороши. Но это лирика... В моем доме пенопласта нет и не будет! Снаружи, как утепление - да, но до него ещё 40 см ракушки. Ну а если уж говорить, то холодильник вреден когда герметизация нарушена. А вообще на сегодняшний день из натурального это стекло, дерево и металл. понравилось в штатах, дома из дерева, кто побогаче - из камня, но не из бетона! Экологию стараются беречь - полотенца бумажные, стаканчики, тарелочки одноразовые бумажные. Зато как элементы декора (заборчик например ) пенопласт, НО он на улице а не в доме. Да но 5 лет назад, пока тайфуны с красивыми названиями жизнь не испортили. Полистайте сайты США (подскажу - фирма Хотваер) Цитата Посилання на коментар Поділитися на інших сайтах More sharing options...
w000000w Опубліковано: 5 листопада 2008 Автор Поділитись Опубліковано: 5 листопада 2008 Да и никто незадумывается чем пенобетон вспенивают !, да и утепляя дом пенопластом (реальным) ппс 10 (в продаже 25), практически Вы ничего не сэкономите... Цитата Посилання на коментар Поділитися на інших сайтах More sharing options...
Vl@dimir Опубліковано: 5 листопада 2008 Поділитись Опубліковано: 5 листопада 2008 год назад был. прям через дорогу строили жилой массив домов - обычный деревянный каркасник. Вот наши бы так строили - пол года от пустого участка, до готового дома - взял и въехал А тайфуны/смерчи какие там бывают и пенопластовый домег унесут без проблем. Цитата Посилання на коментар Поділитися на інших сайтах More sharing options...
w000000w Опубліковано: 5 листопада 2008 Автор Поділитись Опубліковано: 5 листопада 2008 год назад был. прям через дорогу строили жилой массив домов - обычный деревянный каркасник. Вот наши бы так строили - пол года от пустого участка, до готового дома - взял и въехал А тайфуны/смерчи какие там бывают и пенопластовый домег унесут без проблем. Спорить не хочу , бетонные конструкции все-таки наиболее стойкие. А насчет готовности 5 етажку мы готовы сдавать за 5-5.5 месяцев под ключ (11 дней цикл заливки бетона) Цитата Посилання на коментар Поділитися на інших сайтах More sharing options...
Vl@dimir Опубліковано: 5 листопада 2008 Поділитись Опубліковано: 5 листопада 2008 Да и никто незадумывается чем пенобетон вспенивают !, да и утепляя дом пенопластом (реальным) ппс 10 (в продаже 25), практически Вы ничего не сэкономите... пенобетон, пенопласт/термоблоки всё это "типа" ускорение, "удешевление", утепление строительства это так преподносят ;) А утепляя дом снаружи. буду уверен, что зимой промерзать ракушка не будет. Это необходимо и достаточно! Цитата Посилання на коментар Поділитися на інших сайтах More sharing options...
w000000w Опубліковано: 5 листопада 2008 Автор Поділитись Опубліковано: 5 листопада 2008 пенобетон, пенопласт/термоблоки всё это "типа" ускорение, "удешевление", утепление строительства это так преподносят ;) А утепляя дом снаружи. буду уверен, что зимой промерзать ракушка не будет. Это необходимо и достаточно! Вот ето вопрос спорный, ракушка очень неоднозначный строительный материал, с нагрузкой не очень,да и кареры разные бывают , коротко теже проблемы что и пенобетон. Был у меня в практике случай, заполнения каркаса монолитного здания пенобетоном 500, через полгода стенки просели на 1.5 -2 см. и ето без нагрузки, а если нагрузить панелями. И совет мой если есть деньги стройте с кирпича в 2.5- 3 кирпича, по теплосбережению достаточно, и екологически идеал, но посмотрим какая стоимость кирпича станет если газ по 500 у.е. .... Цитата Посилання на коментар Поділитися на інших сайтах More sharing options...
Vl@dimir Опубліковано: 5 листопада 2008 Поділитись Опубліковано: 5 листопада 2008 А насчет готовности 5 етажку мы готовы сдавать за 5-5.5 месяцев под ключ (11 дней цикл заливки бетона) Зная наше "под ключ" и очень хорошо наши сроки да и ещё плюс почему-то удорожание со временем, голослово так не стоит себя пяткой в грудь да на этом сайте. очень сомневаюсь что через 5 мес будет 5 этажей, с ПОЛНОЙ отелкой как внутри так и снаружи + вся сантехника/кухня на месте, а не кое-как прикручена. Даже монолитно/каркасные дома строят - фундамент сколько месяцев выстаивают + колонны/перекрытия.. очень нежелательно нагружать их сразу. А ведь там люди будут! Цитата Посилання на коментар Поділитися на інших сайтах More sharing options...
w000000w Опубліковано: 5 листопада 2008 Автор Поділитись Опубліковано: 5 листопада 2008 Зная наше "под ключ" и очень хорошо наши сроки да и ещё плюс почему-то удорожание со временем, голослово так не стоит себя пяткой в грудь да на этом сайте. очень сомневаюсь что через 5 мес будет 5 этажей, с ПОЛНОЙ отелкой как внутри так и снаружи + вся сантехника/кухня на месте, а не кое-как прикручена. Даже монолитно/каркасные дома строят - фундамент сколько месяцев выстаивают + колонны/перекрытия.. очень нежелательно нагружать их сразу. А ведь там люди будут! технологии давно разработаны, и строительство сейчас возможно только за свои, с последующей продажей. Цитата Посилання на коментар Поділитися на інших сайтах More sharing options...
Vl@dimir Опубліковано: 5 листопада 2008 Поділитись Опубліковано: 5 листопада 2008 Вот ето вопрос спорный, ракушка очень неоднозначный строительный материал, с нагрузкой не очень,да и кареры разные бывают , коротко теже проблемы что и пенобетон. Был у меня в практике случай, заполнения каркаса монолитного здания пенобетоном 500, через полгода стенки просели на 1.5 -2 см. и ето без нагрузки, а если нагрузить панелями. И совет мой если есть деньги стройте с кирпича в 2.5- 3 кирпича, по теплосбережению достаточно, и екологически идеал, но посмотрим какая стоимость кирпича станет если газ по 500 у.е. .... Да, ракушку нужно выбирать!!!!!! Это факт! У человека всегда есть выбор - или то или это! И ему с этим жить! ;) А для Крыма, да и воле моря. в камень (кирпич - 40см) этого достаточно. Цитата Посилання на коментар Поділитися на інших сайтах More sharing options...
w000000w Опубліковано: 5 листопада 2008 Автор Поділитись Опубліковано: 5 листопада 2008 Да, ракушку нужно выбирать!!!!!! Это факт! У человека всегда есть выбор - или то или это! И ему с этим жить! ;) А для Крыма, да и воле моря. в камень (кирпич - 40см) этого достаточно. Согласен ,для Крыма с головой. но учитывайте влияние влаги Цитата Посилання на коментар Поділитися на інших сайтах More sharing options...
Vl@dimir Опубліковано: 5 листопада 2008 Поділитись Опубліковано: 5 листопада 2008 Учитываю. как же без этого (одна из причин почему ракушка). Цитата Посилання на коментар Поділитися на інших сайтах More sharing options...
w000000w Опубліковано: 5 листопада 2008 Автор Поділитись Опубліковано: 5 листопада 2008 Учитываю. как же без этого (одна из причин почему ракушка). утеплять пенопластом нельзя! Цитата Посилання на коментар Поділитися на інших сайтах More sharing options...
Vl@dimir Опубліковано: 5 листопада 2008 Поділитись Опубліковано: 5 листопада 2008 утеплять пенопластом нельзя! Почему??? %) Цитата Посилання на коментар Поділитися на інших сайтах More sharing options...
Vl@dimir Опубліковано: 5 листопада 2008 Поділитись Опубліковано: 5 листопада 2008 Вы первый кто такое сказал. Честно! Что угодно слышал, а чтоб неутеплять пенопластом... Цитата Посилання на коментар Поділитися на інших сайтах More sharing options...
Рекомендовані повідомлення