beavis Опубліковано: 19 квітня 2011 Поділитись Опубліковано: 19 квітня 2011 Добрый день! Собираемся достраивать дом, есть первый этаж. Хочу поставить два фронтона и крышу. Сделать жилую мансарду. Размер дома 10*12 метров, фронтоны на стороне 10 метров. Подскажите, пожалуйста, как лучше всего спроектировать крышу, чтоб и места много не съелось и крыша вызывала чувство доверия Так как сильно длинные пролеты, а я в этом деле "первый раз" Желаемая высота потолков - 2,5-3 метра. Если еще нужна какая-то информация - спрашивайте Заранее спасибо за внимание! Посилання на коментар Поділитися на інших сайтах More sharing options...
vfrcbv-02 Опубліковано: 19 квітня 2011 Поділитись Опубліковано: 19 квітня 2011 ответ в личке 1 Посилання на коментар Поділитися на інших сайтах More sharing options...
beavis Опубліковано: 20 квітня 2011 Автор Поділитись Опубліковано: 20 квітня 2011 ответ в личке Спасибо! Видел, тоже ответил Посилання на коментар Поділитися на інших сайтах More sharing options...
VillaDeLux (ex Акро) Опубліковано: 20 квітня 2011 Поділитись Опубліковано: 20 квітня 2011 Если еще нужна какая-то информация - спрашивайте Вообще то это вам нужно. Выложите всю информацию тогда и можно что то советовать: 1. план опорных (несущих) стен 2. желаемая планировка мансарды 3. тип кровельного покрытия 4. регион застройки Посилання на коментар Поділитися на інших сайтах More sharing options...
beavis Опубліковано: 20 квітня 2011 Автор Поділитись Опубліковано: 20 квітня 2011 Вообще то это вам нужно. Выложите всю информацию тогда и можно что то советовать: 1. план опорных (несущих) стен 2. желаемая планировка мансарды 3. тип кровельного покрытия 4. регион застройки Имел в виду какая конкретна нужна информация 1) Приблизительный план вложил (сделан в ворде, так что красоты не гарантирую) 2) Планировка будет зависеть от полученного в итоге места. Приблизительно - одна большая комната (на полэтажа), и две поменьше. 3) На 95% вероятности - металочерепица. 4) Киевская область (между Бояркой и Глевахой) Крышу планирую простую двухскатную, желаемая высота фронтонов около 5 метров. Посилання на коментар Поділитися на інших сайтах More sharing options...
VillaDeLux (ex Акро) Опубліковано: 20 квітня 2011 Поділитись Опубліковано: 20 квітня 2011 длина стропильной ноги -7,3-7,6 метра. надо сращивать. гоните среднюю стену на 3 метра вверх, на неё затяжку сечения 150*50 шаг 800-900 смело. 1 Посилання на коментар Поділитися на інших сайтах More sharing options...
beavis Опубліковано: 20 квітня 2011 Автор Поділитись Опубліковано: 20 квітня 2011 длина стропильной ноги -7,3-7,6 метра. надо сращивать. гоните среднюю стену на 3 метра вверх, на неё затяжку [ATTACH]105963[/ATTACH] сечения 150*50 шаг 800-900 смело. Спасибо за совет! А нельзя ли заменить стену несколькими колонами и положить на них балки? Сколько в таком случае колон потребуется? Так как большую комнату на полэтажа хотелось бы перпендикулярно несущей стене, а не вдоль. Посилання на коментар Поділитися на інших сайтах More sharing options...
VillaDeLux (ex Акро) Опубліковано: 20 квітня 2011 Поділитись Опубліковано: 20 квітня 2011 А нельзя ли заменить стену несколькими колонами и положить на них балки? Сколько в таком случае колон потребуется? можно. стойки 150*150 внутри нужно 2 шт + 2 точки опоры - фронтоны. прогон 150*200 (на ребро) в местах где стойки прячутся в перегородку надо пару подкосов для пространственной устойчивости конструкции 2 Посилання на коментар Поділитися на інших сайтах More sharing options...
beavis Опубліковано: 20 квітня 2011 Автор Поділитись Опубліковано: 20 квітня 2011 можно. стойки 150*150 внутри нужно 2 шт + 2 точки опоры - фронтоны. прогон 150*200 (на ребро) в местах где стойки прячутся в перегородку надо пару подкосов для пространственной устойчивости конструкции И еще один момент - перекрытие этажей - ж/б панели, поэтому стропила будут опираться на мауэрлат. Можно ли при этом опорные балки (на Вашем рисунке справа и слева) ставить не на несущую стену? И надо ли они тогда вообще? Посилання на коментар Поділитися на інших сайтах More sharing options...
VillaDeLux (ex Акро) Опубліковано: 20 квітня 2011 Поділитись Опубліковано: 20 квітня 2011 И еще один момент - перекрытие этажей - ж/б панели, поэтому стропила будут опираться на мауэрлат. Можно ли при этом опорные балки (на Вашем рисунке справа и слева) ставить не на несущую стену? И надо ли они тогда вообще? я бы порекомендовал всё таки от несущей стены выпустить балочки и завязать их со стропилами стойками (как на моём наброске) тут 2 приемущества: 1. больше помещения на мансарде, 2. больше свес хотя, можно и на мауэрлат поставить стропилину. стоечку вообще можно убрать. 1 Посилання на коментар Поділитися на інших сайтах More sharing options...
beavis Опубліковано: 20 квітня 2011 Автор Поділитись Опубліковано: 20 квітня 2011 я бы порекомендовал всё таки от несущей стены выпустить балочки и завязать их со стропилами стойками Не очень представляется как можно прикрепить эти балки к панелям Может, конечно, чего-то не понял... стоечку вообще можно убрать. Не будет ли в таком случае сильно большое "висячее" расстояние между упорами стропил? Может все-таки надежней сделать эти балки на расстоянии, к примеру, полтора метра от мауэрлата? Так как все-равно те углы врядли буду использоваться... Сильно ли вообще эти опоры влияют на стойкость? Заранее спасибо Посилання на коментар Поділитися на інших сайтах More sharing options...
Tarac_ Опубліковано: 20 квітня 2011 Поділитись Опубліковано: 20 квітня 2011 Накидав приблизну схемку, правильно і надійно, та й по розрахунку проходить. 2 Посилання на коментар Поділитися на інших сайтах More sharing options...
beavis Опубліковано: 20 квітня 2011 Автор Поділитись Опубліковано: 20 квітня 2011 Накидав приблизну схемку, правильно і надійно, та й по розрахунку проходить. Добрий день! Дякую за таку точну схему! Але справа в тому, что бокових стін не буде, будуть тільки фронтони. Якщо є натхнення, то можна для мого випадку ще схемку? :roll: Посилання на коментар Поділитися на інших сайтах More sharing options...
Tarac_ Опубліковано: 20 квітня 2011 Поділитись Опубліковано: 20 квітня 2011 Вибачте, напевне невірно зрозумів. Можливо краще Ви накреслите бажаний план даху і переріз схематично, а ми, силами форуму, добавимо, те чого не вистачає Посилання на коментар Поділитися на інших сайтах More sharing options...
VillaDeLux (ex Акро) Опубліковано: 20 квітня 2011 Поділитись Опубліковано: 20 квітня 2011 Накидав приблизну схемку, правильно і надійно, та й по розрахунку проходить. не совсем логичное предложение: 1. зачем и верхняя затяжка и подкосы приходят в одну точку? что то можно убрать. 1.1 какая длина стропильной ноги? 2. Без затяжки (потолочной балки) стропила будут работать в распор и это не есть гут. 3. Что за подвесной потолок? Не забывайте про пролёт. Зачем такие сложности? Как его утеплять? Однозначно, затяжка-балка тут нужна. Верхнюю затяжку я бы убрал и добавил вертикальные стоечки от балки к стропилине. Получилась бы ферма и очень стабильный потолок. Ну, про боковые стены вам уже говорили: их нет в планах у топикстартера. Посилання на коментар Поділитися на інших сайтах More sharing options...
Tarac_ Опубліковано: 20 квітня 2011 Поділитись Опубліковано: 20 квітня 2011 не совсем логичное предложение: 1. зачем и верхняя затяжка и подкосы приходят в одну точку? что то можно убрать. 1.1 какая длина стропильной ноги? 2. Без затяжки (потолочной балки) стропила будут работать в распор и это не есть гут. 3. Что за подвесной потолок? Не забывайте про пролёт. Зачем такие сложности? Как его утеплять? Однозначно, затяжка-балка тут нужна. Верхнюю затяжку я бы убрал и добавил вертикальные стоечки от балки к стропилине. Получилась бы ферма и очень стабильный потолок. Ну, про боковые стены вам уже говорили: их нет в планах у топикстартера. 1. Основи будівельної механіки + стандартні способи вирішення кроквяних конструкцій, які Ви можете знайти в книжках про конструювання дахів ще з 19століття. Даний варінт забезпечує геометричну незмінність системи. 1.1 5800мм. Необхідне січення без підкосів 200х100мм 2. і у мому і у Вашому варіанті данний елемент не буде працювати як затяжка, скоріше як розпорка. Варіант затяжки можливий лише якщо вона максимально наближена до мауерлата. Розпору не буде - верхній вузол жорсткий див. п1. Ваша "затяжка" не зменшує розрахункова довжину крокви відповідно запропоноване Вами січення 150х50 не проходить ні по міцності ні по прогину. 3. По порядку питань : Стеля яка підвішується до крокв. Все елементарно і просто. Мінватою. Скільки ферм Ви розрахували? 4. Бокові стіни я б рекомендував зробити з точки зору зручності монтажу та експлуатації конструкцій. Хоча б 600мм від перекриття до мауерлату. Посилання на коментар Поділитися на інших сайтах More sharing options...
beavis Опубліковано: 20 квітня 2011 Автор Поділитись Опубліковано: 20 квітня 2011 Примерно накидал то, что выбрал из ваших комментариев. Добавил немного стены (20 см на перекрытие панели + 50 см на стену до мауэрлата). Опустил крышу на 1 метр, так как получалась сильно высокая. Но что-то опасаюсь, чтоб после всех утеплений не оказалась низкая... И еще мне кажется, что до 100% прочности не хватает чего-то... Каких-нибудь несколько балок. Что где не так? Такс, уже нашел, что профтыкал. Стену поднял на 20 см, чтоб перекрыть панели, а опоры для балок нарисовал с потолка первого этажа. Их высота по правильному теперь должна быть на 20 см больше. Ну так как сейчас все примерно, то это мелочь Еще вопрос - опоры для балок нарисовал с толщиной 40 см. Не мало? Или их вообще можно из деревянных брусков поставить? Надо ли там аж 4 опоры или хватит 3? Посилання на коментар Поділитися на інших сайтах More sharing options...
Tarac_ Опубліковано: 20 квітня 2011 Поділитись Опубліковано: 20 квітня 2011 Не вистачає опори в коньку. Якщо фронтони несучі, то прогони опираються на них, колони біля фронтонів зайві. Краще поставити три колони в рольоті. Розмір їх з цегли 380х380 достатній. Посилання на коментар Поділитися на інших сайтах More sharing options...
beavis Опубліковано: 20 квітня 2011 Автор Поділитись Опубліковано: 20 квітня 2011 Не вистачає опори в коньку. Якщо фронтони несучі, то прогони опираються на них, колони біля фронтонів зайві. Краще поставити три колони в рольоті. Розмір їх з цегли 380х380 достатній. Может я не правильно понимаю, но зачем еще опоры и в коньке? Основное давление получится не на него, а на середину стропил (на отрезке от поперечной балки до мауэрлата). Или какие именно опоры еще должны быть? Конечно, может просто я чего-то не учел Насчет колон - не знаю будут ли делаться фронтоны несущими, так как пока не знаю будет ли дерево на момент возведения фронтонов. Хотя можно дыры оставить в стене. Фронтоны будут из газоблока, можно ли на них опирать брус без армпояса? Кстати, сколько дерево может лежать без дела? За какое время оно может "пересушится"? Если завезли свежоспил, к примеру, за какой период времени лучше соорудить с него крышу (чтоб небыло рано или поздно)? Посилання на коментар Поділитися на інших сайтах More sharing options...
Tarac_ Опубліковано: 20 квітня 2011 Поділитись Опубліковано: 20 квітня 2011 Может я не правильно понимаю, но зачем еще опоры и в коньке? Основное давление получится не на него, а на середину стропил (на отрезке от поперечной балки до мауэрлата). Или какие именно опоры еще должны быть? Конечно, может просто я чего-то не учел При такому варіанті взагалі відпадає необхідність в центральній несучій стіні, збільшуються навантаження на зовнішні стіни та січення елементів конструкції. Можна звісно і так зробити і січення прийняти мінімальні, але повіртне мені, коли зимою, під вагою снігу, провалюється дах, або руйнуються конструкції, видовище звісно цікаве та пізнавальне, проте тільки не для власника даху. Насчет колон - не знаю будут ли делаться фронтоны несущими, так как пока не знаю будет ли дерево на момент возведения фронтонов. Хотя можно дыры оставить в стене. Фронтоны будут из газоблока, можно ли на них опирать брус без армпояса? Опирати просто на блок не можна, потрібно хочаб опорну з/б подушку зробити, а також розрахувати всі навантаження, перевірити несучу здатність кладки. Як варіант зробити стовпчик біля фронтону з того самого газоблоку та перевязати з стіною. Кстати, сколько дерево может лежать без дела? За какое время оно может "пересушится"? Если завезли свежоспил, к примеру, за какой период времени лучше соорудить с него крышу (чтоб небыло рано или поздно)? Якщо покладено правильно то довго. З свіжо пиляного робити не варто. Потрібно висушити до вологості 18-20%. Природня сушка 0,5-2роки(залежно від періоду коли дерево заготовлялось), в сушильних камерах набагато швидше. Посилання на коментар Поділитися на інших сайтах More sharing options...
beavis Опубліковано: 20 квітня 2011 Автор Поділитись Опубліковано: 20 квітня 2011 При такому варіанті взагалі відпадає необхідність в центральній несучій стіні, збільшуються навантаження на зовнішні стіни та січення елементів конструкції. Покажите, пожалуйста, где именно Вы предлагаете еще опоры? Опирати просто на блок не можна, потрібно хочаб опорну з/б подушку зробити, а також розрахувати всі навантаження, перевірити несучу здатність кладки. Як варіант зробити стовпчик біля фронтону з того самого газоблоку та перевязати з стіною. Именно поэтому я и рисовал еще колону возле фронтона (она из кирпича). Якщо покладено правильно то довго. Гаража и перекладки тонкими брусками хватит? Если мне дерево понадобится через месяц, то какая вероятность купить достаточно высушенную древесину? Посилання на коментар Поділитися на інших сайтах More sharing options...
Tarac_ Опубліковано: 20 квітня 2011 Поділитись Опубліковано: 20 квітня 2011 Покажите, пожалуйста, где именно Вы предлагаете еще опоры? підроквяний прогон, то й що в мене на кресленні по центру з самого верху 150х100, опертий на стовпчики. Гаража и перекладки тонкими брусками хватит? Если мне дерево понадобится через месяц, то какая вероятность купить достаточно высушенную древесину? Для вже сухого дерева - вистачить. Для природньої сушки не потяне, там трошки по іншом треба. В наш час купити можна все 8-). Є спеціальні прилади, для визначення вологості деревини ( в принципі повинен бути в наявносту у людей котрі займаються деревом). Ну але це вже геть професійний підхід ;). Посилання на коментар Поділитися на інших сайтах More sharing options...
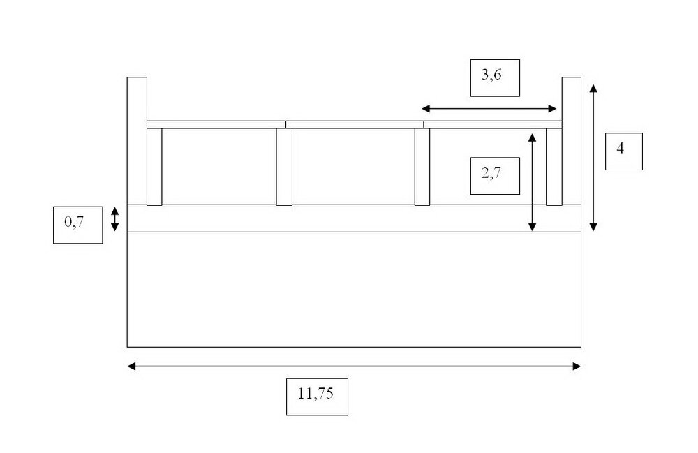
beavis Опубліковано: 21 квітня 2011 Автор Поділитись Опубліковано: 21 квітня 2011 Уважаемые, склоняюсь все-таки к такому варианту (ниже). Полтора метра достаточно отступа? Не много/мало? Боковые стенки убрал, так как не вижу в них смысла с такой высотой (что есть, что нету). Толщины стропил 5 см хватит (с шириной 20) или надо больше? Или можно 7*15? Какие замечания/предложения? Буду рад выслушать. Посилання на коментар Поділитися на інших сайтах More sharing options...
beavis Опубліковано: 22 квітня 2011 Автор Поділитись Опубліковано: 22 квітня 2011 Кто-то может посоветовать контакт человека, у кого можно купить качественную древесину по разумным ценам? И еще - с качеством металочерепицы определится легко, а вот есть ли значительная разница среди производителей? Кому из производителей можно доверять? Посилання на коментар Поділитися на інших сайтах More sharing options...
beavis Опубліковано: 26 квітня 2011 Автор Поділитись Опубліковано: 26 квітня 2011 Никто ничего не посоветует? Посилання на коментар Поділитися на інших сайтах More sharing options...
Рекомендовані повідомлення
Створіть акаунт або увійдіть у нього для коментування
Ви маєте бути користувачем, щоб залишити коментар
Створити акаунт
Зареєструйтеся для отримання акаунта. Це просто!
Зареєструвати акаунтУвійти
Вже зареєстровані? Увійдіть тут.
Увійти зараз