Artishocke Опубліковано: 12 лютого 2012 Поділитись Опубліковано: 12 лютого 2012 (змінено) Электробойлер - это да. Частично-обвязанный-назвал по своему, планируется 10-15% энергии снять в Та. Планирую понижать температуру горячего воздуха с буллера перед раздачей по дому (вентиль d=300мм туннельный, трасса d=200мм оцинковка l=13m или около этого, транзит через три комнаты) с помощью прокачки обратки из ТА, через купленный медный конденсатор(планирую еще 3-4 докупить) от промхолодильника, установленных перед вентилятором раздачи. Соответственно увязать все это на три термодатчика-один воздушный(запуск-стоп вентилятора и запуск насоса по температуре 35-36) и два водяных или накладных на обратку и подачу с охладителя(стоп по разнице между подачей и обраткой дельта 1градус подача на охладитель более обратки-стоп насоса). Таким образом часть тепла с буллера закачиваем в ТА, а из него в ТП. Опять же снизить температуру воздуха на раздаче для более долгой службы вентустановки, ибо она в потоке воздуха и охлаждается им же. Варочную взял электролюкс 7,1кВт. Ну что ж осенью думаю оценить супец, приготовленный на ик-плите. Примерно так же тоже хотел сделать, только использовать автомобильный радиатор, например от таврии, 180 грн новый, и попытаться забрать 70-80% тепла. А можно и так Змінено 12 лютого 2012 користувачем Artishocke Добавил фото Посилання на коментар Поділитися на інших сайтах More sharing options...
stepa73 Опубліковано: 12 лютого 2012 Поділитись Опубліковано: 12 лютого 2012 Примерно так же тоже хотел сделать, только использовать автомобильный радиатор, например от таврии, 180 грн новый, и попытаться забрать 70-80% тепла. А можно и так Терзают меня смутные сомнения про радиатор от Таврии. Разве что только несколько и параллельно. На картинке вообще непонятно-воздушная схема. Посилання на коментар Поділитися на інших сайтах More sharing options...
Artishocke Опубліковано: 12 лютого 2012 Поділитись Опубліковано: 12 лютого 2012 Терзают меня смутные сомнения про радиатор от Таврии. Разве что только несколько и параллельно.полезная мощьность таврии 40кВт КПД ДВС 40 %, т.е. при максимальной нагрузке таврийский радиатор должен отдавать(забирать) 60 кВатт На картинке вообще непонятно-воздушная схема. Это булер с водяным контуром, по воздуховодам циркулирует вода. Посилання на коментар Поділитися на інших сайтах More sharing options...
Kubik Опубліковано: 12 лютого 2012 Поділитись Опубліковано: 12 лютого 2012 полезная мощьность таврии 40кВт КПД ДВС 40 %, т.е. при максимальной нагрузке таврийский радиатор должен отдавать(забирать) 60 кВатт Это булер с водяным контуром, по воздуховодам циркулирует вода. Скорее всего из оставшихся 60% большая часть просто вылетает в трубу,а не охлаждается радиатором. Посилання на коментар Поділитися на інших сайтах More sharing options...
Artishocke Опубліковано: 12 лютого 2012 Поділитись Опубліковано: 12 лютого 2012 Скорее всего из оставшихся 60% большая часть просто вылетает в трубу,а не охлаждается радиатором. Согласен. Но все таки думаю не все 60%. Да какая разница, если он сможет взять даже 10 кВт, уже хорошо. Цена вопроса 25$ Можно еще один поставить, как советовал Степа. Только последовательно, противотоком. Посилання на коментар Поділитися на інших сайтах More sharing options...
stepa73 Опубліковано: 12 лютого 2012 Поділитись Опубліковано: 12 лютого 2012 полезная мощьность таврии 40кВт КПД ДВС 40 %, т.е. при максимальной нагрузке таврийский радиатор должен отдавать(забирать) 60 кВатт Это булер с водяным контуром, по воздуховодам циркулирует вода. Не особо разбираюсь в физических условиях для газогенерации, но водяной контур, имхо, внесет свою лепту в недожег летучих составляющих топлива, соответственно количество сажи и конденсата. Согласен. Но все таки думаю не все 60%. Да какая разница, если он сможет взять даже 10 кВт, уже хорошо. Цена вопроса 25$ Можно еще один поставить, как советовал Степа. Только последовательно, противотоком. В чем преимущества противотока и последовательного соединения? В таврическом радиаторе очень маленькое расстояние между пластинами и придется прокачивать воздухс помощью разницы в давлении и по герметичному каналу. Есть еще один вариант(по бедности была такая идея) если недокуплю 3-4 конденсатора от промхолодильника то делаю такую конструкцию лист(в моем случае) 0,95*1,4м кроится из листа 2*1м толщиной 1,5-2мм обрезки идут на оребрение, для увеличения площади теплосьема. С другой стороны к листу привариваются с тщательным проваром, не жалея электродов, поперек, для создания ребер жесткости трубопроводы в которых идет циркуляция теплоносителя. Потом тот единственный конденсатор перед вентустановкой. Лист устанавливается с небольшим наклоном в сторону противоположную движению гарячего воздуха. Соответственно ширина листа перекрывает полностью ширину корридора в котором он находится(0,95м). Как то так. Посилання на коментар Поділитися на інших сайтах More sharing options...
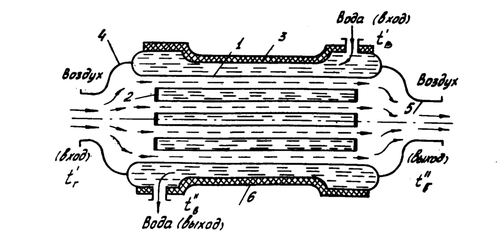
Artishocke Опубліковано: 13 лютого 2012 Поділитись Опубліковано: 13 лютого 2012 (змінено) Не особо разбираюсь в физических условиях для газогенерации, но водяной контур, имхо, внесет свою лепту в недожег летучих составляющих топлива, соответственно количество сажи и конденсата. А какая разница какого типа охладитель, воздух или вода? В любом случае, тепло в булере снимается с топки, а не с отработанных дымовых газов. В чем преимущества противотока и последовательного соединения? Посмотрите картинку, на первой противоточный, на второй прямоточный. У первого количество тепла отданое теплоносителю, будет больше, чем во втором случае, при всех равных параметрах. В таврическом радиаторе очень маленькое расстояние между пластинами и придется прокачивать воздухс помощью разницы в давлении и по герметичному каналу. Полюбому должен быть герметичный канал и принудительная циркуляция воздуха. У булера церкуляция происходит за счет разности температур. А если температура на входе и выходе будет одинаковая, или перепад незначительный, то и церкуляции не будет. Есть еще один вариант(по бедности была такая идея) если недокуплю 3-4 конденсатора от промхолодильника то делаю такую конструкцию лист(в моем случае) 0,95*1,4м кроится из листа 2*1м толщиной 1,5-2мм обрезки идут на оребрение, для увеличения площади теплосьема. С другой стороны к листу привариваются с тщательным проваром, не жалея электродов, поперек, для создания ребер жесткости трубопроводы в которых идет циркуляция теплоносителя. Потом тот единственный конденсатор перед вентустановкой. Лист устанавливается с небольшим наклоном в сторону противоположную движению гарячего воздуха. Соответственно ширина листа перекрывает полностью ширину корридора в котором он находится(0,95м). Как то так. Я думаю стальной теплообменник при дельта Т=50-70С вряд ли будет хорошо работать. Змінено 13 лютого 2012 користувачем Artishocke Посилання на коментар Поділитися на інших сайтах More sharing options...
stepa73 Опубліковано: 13 лютого 2012 Поділитись Опубліковано: 13 лютого 2012 А какая разница какого типа охладитель, воздух или вода? В любом случае, тепло в булере снимается с топки, а не с отработанных дымовых газов. Посмотрите картинку, на первой противоточный, на второй прямоточный. У первого количество тепла отданое теплоносителю, будет больше, чем во втором случае, при всех равных параметрах. Полюбому должен быть герметичный канал и принудительная циркуляция воздуха. У булера церкуляция происходит за счет разности температур. А если температура на входе и выходе будет одинаковая, или перепад незначительный, то и церкуляции не будет. Я думаю стальной теплообменник при дельта Т=50-70С вряд ли будет хорошо работать. Разница теоретически должна быть меняются физические условия теплосьема-меняется и сам процесс горения в печи заточенной под газогенерацию, имхо однозначно и поменяются не в лучшую сторону. Да согласен противоток лучше. Есть рекуператоры противоточные жидкостные. Они эффективнее однозначно. Сорри подзабыл, давно этому учили. Посилання на коментар Поділитися на інших сайтах More sharing options...
Artishocke Опубліковано: 13 лютого 2012 Поділитись Опубліковано: 13 лютого 2012 Разница теоретически должна быть меняются физические условия теплосьема-меняется и сам процесс горения в печи заточенной под газогенерацию, имхо однозначно и поменяются не в лучшую сторону. Ничего там не меняется. Теплосъем происходит с камеры сгорания. Булер производит 10кВт(например) тепла, и не важно что вы будите греть воду или воздух. В любом случае, если воздухообмен будет принудительный, произойдет выхолаживание топливника. Посилання на коментар Поділитися на інших сайтах More sharing options...
brag Опубліковано: 17 листопада 2012 Поділитись Опубліковано: 17 листопада 2012 Serg-Solar, чет я не пойму, Нынче Leoch дешевле Ventura или практически в одной цене. Неужели они так сильно лучше? Посилання на коментар Поділитися на інших сайтах More sharing options...
Serg-Solar Опубліковано: 20 листопада 2012 Поділитись Опубліковано: 20 листопада 2012 Serg-Solar, чет я не пойму, Нынче Leoch дешевле Ventura или практически в одной цене. Неужели они так сильно лучше? Leoch понадежней будет, работаю с этой маркой больше 10 лет. Посилання на коментар Поділитися на інших сайтах More sharing options...
kompositor Опубліковано: 27 листопада 2012 Поділитись Опубліковано: 27 листопада 2012 Добрый день. У меня вопрос к специалистам. А ем плох Trojan T105 RE( 6V 225A/ч)? Официально заявленые характеристики на уровне панцирных, цена сопоставима с Leoch DJM12200. Посилання на коментар Поділитися на інших сайтах More sharing options...
Seva1964 Опубліковано: 27 листопада 2012 Поділитись Опубліковано: 27 листопада 2012 А ем плох Trojan T105 RE( 6V 225A/ч)? --- Стрёмным названием Leoch DJM12200 можно засунуть под кровать, подключить к зарядному устройству и забыть о ней до полного износа. С парой Trojan T105 RE такой номер не пройдёт. Посилання на коментар Поділитися на інших сайтах More sharing options...
kompositor Опубліковано: 27 листопада 2012 Поділитись Опубліковано: 27 листопада 2012 --- Стрёмным названием Leoch DJM12200 можно засунуть под кровать, подключить к зарядному устройству и забыть о ней до полного износа. С парой Trojan T105 RE такой номер не пройдёт. Согласен , но если есть отдельное проветриваемое теплое помещение то это не проблема. Возможность проверить уровень и долить/поменять раз в год электролит - это большой плюс. Но график количества циклов от глубины разряда ( (ссылка устарела) ) впечатляет, а цена почти радует. Я думал может есть еще подводные камни ? Посилання на коментар Поділитися на інших сайтах More sharing options...
Seva1964 Опубліковано: 27 листопада 2012 Поділитись Опубліковано: 27 листопада 2012 график количества циклов от глубины разряда ( (ссылка устарела) ) впечатляет, а цена почти радует. --- График количества циклов от глубины разряда удручает. Враньём. Это обыкновенная обслуживаемая АКБ с жидким электролитом, при производстве которой существенно сэкономлено на массе электродов. Тогда, как 3СТ-215 ЭР, например, весит почти 43 кг. Цена тоже не радует. За АКБ ISTA 7 Series 6CT-225Aз1, например, просят всего 2 084 грн. Посилання на коментар Поділитися на інших сайтах More sharing options...
Рекомендовані повідомлення
Створіть акаунт або увійдіть у нього для коментування
Ви маєте бути користувачем, щоб залишити коментар
Створити акаунт
Зареєструйтеся для отримання акаунта. Це просто!
Зареєструвати акаунтУвійти
Вже зареєстровані? Увійдіть тут.
Увійти зараз