SAN67 Опубліковано: 20 лютого 2024 Поділитись Опубліковано: 20 лютого 2024 (змінено) 5 часов назад, lafaet сказал: тобто при використанні пароізоляції не можна монтувати підвісну/натяжну стелю? Можно, но нужно оставлять зазоры для вентиляции. 5 часов назад, andrey_ka сказал: Звідки ви це взяли Есть учебники, но предположим, что дошёл своим умом. И что? Для того, чтобы доходить до чего-то свои умом необходим определённый, хотя бы базовый объём знаний и не с сайтов "интернетных специалистов", а с учебников. IMHO, рисуночек с интернетовской помоечки. " специалист", что-то, где-то видел но понять не смог. А чтобы понять нужно изучить диффузию пара. В интернет можно ходить когда уже достаточно знаний, чтобы отделять зёрна от плевел. Вот как должен выглядеть вариант с обрешёткой по пароизоляции Но такой вариант будет более целесообразный, IMHO Змінено 20 лютого 2024 користувачем SAN67 Посилання на коментар Поділитися на інших сайтах More sharing options...
Gitan Опубліковано: 20 лютого 2024 Поділитись Опубліковано: 20 лютого 2024 2 минуты назад, SAN67 сказал: Можно, но нужно оставлять зазоры для вентиляции. І якой номер має пароізоляція на малюнку? Посилання на коментар Поділитися на інших сайтах More sharing options...
SAN67 Опубліковано: 20 лютого 2024 Поділитись Опубліковано: 20 лютого 2024 6 минут назад, Gitan сказал: І якой номер має пароізоляція на малюнку? верхний рисунок нижний рисунок Посилання на коментар Поділитися на інших сайтах More sharing options...
Gitan Опубліковано: 20 лютого 2024 Поділитись Опубліковано: 20 лютого 2024 Тоді ці малюнки запечують тому що ви кажете. Не треба монтувати пароізоляцію на обрещітку. Пиріг (у напрямку приміщення): теплоізоляція- пароізоляція - обрещітка. Ніяка вентиляція париізоляції не потрібна. Вентиляцію треба робити мембрані зі сторони вулиці. 1 Посилання на коментар Поділитися на інших сайтах More sharing options...
SAN67 Опубліковано: 20 лютого 2024 Поділитись Опубліковано: 20 лютого 2024 29 минут назад, Gitan сказал: Ніяка вентиляція париізоляції не потрібна. А где я написал, что пароизоляция нуждается в вентиляции? Посилання на коментар Поділитися на інших сайтах More sharing options...
andrey_ka Опубліковано: 20 лютого 2024 Поділитись Опубліковано: 20 лютого 2024 1 годину тому, SAN67 сказав: Есть учебники, но предположим, что дошёл своим умом. И что? Для того, чтобы доходить до чего-то свои умом необходим определённый, хотя бы базовый объём знаний и не с сайтов "интернетных специалистов", а с учебников. Ну якщо ви розумієте усі процеси , то можете пояснити простими словами , яким чином у просторі між пароізоляцією та , наприклад ГК буде відбуватись вологонакопичення? 1 годину тому, SAN67 сказав: IMHO, рисуночек с интернетовской помоечки. " специалист", что-то, где-то видел но понять не смог. А чтобы понять нужно изучить диффузию пара. В интернет можно ходить когда уже достаточно знаний, чтобы отделять зёрна от плевел. То ви про той малюнок що я виклав ? 1 годину тому, SAN67 сказав: Вот как должен выглядеть вариант с обрешёткой по пароизоляции До чого ці малюнки? На них же написано , що то дах з подвійною вентиляцією , і мова в них йде про вентиляцію піддахового простору. До теми обговорення вони не мають жодного відношення. 1 Посилання на коментар Поділитися на інших сайтах More sharing options...
Gitan Опубліковано: 20 лютого 2024 Поділитись Опубліковано: 20 лютого 2024 (змінено) 5 часов назад, SAN67 сказал: Между отделочным слоем и пароизоляцией не должно быть никакой обрешётка. Отделочный слой должен плотно прилегать к пароизоляции, т.е. обрешётка должна быть закрыта пароизоляцией, З вашого допису я роблю висновок, шо спочатку вата, потім отрешітка і потім по обрешітці пароізоляція. Так? Змінено 20 лютого 2024 користувачем Gitan Посилання на коментар Поділитися на інших сайтах More sharing options...
eam Опубліковано: 20 лютого 2024 Поділитись Опубліковано: 20 лютого 2024 (змінено) 29 минут назад, Gitan сказал: З вашого допису я роблю висновок, шо спочатку вата, потім отрешітка і потім по обрешітці пароізоляція. Так? А далее сразу по пароизоляции отделочный слой 🤣 Змінено 20 лютого 2024 користувачем eam Посилання на коментар Поділитися на інших сайтах More sharing options...
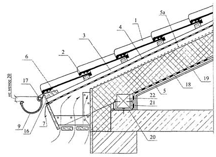
eam Опубліковано: 20 лютого 2024 Поділитись Опубліковано: 20 лютого 2024 3 часа назад, SAN67 сказал: верхний рисунок нижний рисунок Подождите. Вы сначала говорили что зазор между пароизоляцией и отделкой ее нужен и тут же приводите в качестве доказательства рисунок на котором между пароизоляцией (6) и отделкой (13) зазор таки присутствует 1 Посилання на коментар Поділитися на інших сайтах More sharing options...
SAN67 Опубліковано: 20 лютого 2024 Поділитись Опубліковано: 20 лютого 2024 48 минут назад, andrey_ka сказал: На них же написано Я удалил надпись. Попробуйте ещё раз рассмотреть рисунок и найти отличие от Вашего рисунка касающееся темы. 1 час назад, andrey_ka сказал: можете пояснити В какой-то из тем я уже объяснял. Возможно было слишком просто, поэтому немного расширю В холодный период внутренний воздух отличается от наружного более высокой температурой. Чем выше температура воздуха тем больше плотность водяного пара, а значит и давление насыщения. На сторонах строительной конструкции образуется некий перепад парциальных давлений. Это вызывает диффузию водяного пара. Диффузия насыщенного пара происходит в строну меньшего парциального давления. В результате жизнедеятельности человека постоянно образуется водяной пар. В процессе диффузии и конвективного переноса водяной пар стремится вверх. где в подкровельном пространстве охлаждается и конденсирует. Поэтому замкнутая воздушная прослойка не является приемлемым решением. 36 минут назад, Gitan сказал: Так? Нет. Утеплитель укладывается между обрешеткой. Потом натягивается пароизоляция и на неё плотно укладывается отделочный слой. А если обрешетка укладывается на пароизоляцию, то необходимо в отделочном слое предусматривать вентиляционные отверстия. 14 минут назад, eam сказал: зазор таки присутствует Надеюсь я уже всё понятно объяснил. 1 2 Посилання на коментар Поділитися на інших сайтах More sharing options...
andrey_ka Опубліковано: 20 лютого 2024 Поділитись Опубліковано: 20 лютого 2024 45 хвилин тому, SAN67 сказав: где в подкровельном пространстве охлаждается и конденсирует. Тобто пар проходить через ГК , і в просторі між ГК і пароізоляцією охолоджується та конденсується ? Яким чином він охолоджується , адже вище пароізоляції утеплювач який цьому перешкоджає ? Якщо навіть припустити що ви праві , то в будівництві повинні бути якісь норми , які : або забороняють залишати повітряний прошарок , або зобов'язують в оздоблювальних шарах робити вентеляційні отвори. Ви можете надати посилання на такі норми ? 1 година тому, SAN67 сказав: Я удалил надпись. Попробуйте ещё раз рассмотреть рисунок и найти отличие от Вашего рисунка касающееся темы. Подивився , уважно подивився. Наприклад на верхньому малюнку чітко видно що між утеплювачем та СДМ ніякого прошарку немає , а от між оздобленням та пароізоляцією на обох малюнках є . ІМХО. То обрізаєте так , щоб не було видно що до чого відноситься , то назви видаляєте. Таке відчуття , що намагаєтесь змішати зерна з лушпинням. 1 Посилання на коментар Поділитися на інших сайтах More sharing options...
SAN67 Опубліковано: 21 лютого 2024 Поділитись Опубліковано: 21 лютого 2024 5 часов назад, andrey_ka сказал: То обрізаєте так Я не помню с какого учебника эти рисунки. Много лет назад, выполняя теплотехнический расчёт здания, в котором была часть конструкции наружного ограждения с обрешёткой по пароизоляции с закрытой воздушной прослойкой, использовал эти рисунки для пояснения. В ТЗ заказчика не значился пункт по ликбезу, поэтому было достаточно таких рисунков, чтобы человек всё понял и принял решение обдуманно. Строительство не мой профиль и подсказать по учебникам не могу. По диффузии пара советую К. Шпайдель Диффузия и конденсация водяного пара в ограждающих конструкциях. Материал изложен просто, доступно и воспринимается легко. По умолчанию базовые знания по теплотехническому расту зданий уже имеются. 5 часов назад, andrey_ka сказал: Таке відчуття , що намагаєтесь змішати зерна з лушпинням. Вот и постарайтесь это подтвердить не ощущениями, а знаниями полученными не от " интернетных специалистов", а с учебников. А вот учебники можно найти и в интернете. Посилання на коментар Поділитися на інших сайтах More sharing options...
Dendnepr Опубліковано: 21 лютого 2024 Поділитись Опубліковано: 21 лютого 2024 если за гипсокартоном на пароизоляции будет вдруг конденсат - значит недостаточное утепление. При утеплении согласно нормам - не будет никакого конденсата там. Разве, что в сауне. изза периодического сильного (несколько десятков градусов) перепада температур внутри помещения. Посилання на коментар Поділитися на інших сайтах More sharing options...
andrey_ka Опубліковано: 21 лютого 2024 Поділитись Опубліковано: 21 лютого 2024 2 години тому, SAN67 сказав: Я не помню с какого учебника эти рисунки. Много лет назад, выполняя теплотехнический расчёт здания, в котором была часть конструкции наружного ограждения с обрешёткой по пароизоляции с закрытой воздушной прослойкой, использовал эти рисунки для пояснения. В ТЗ заказчика не значился пункт по ликбезу, поэтому было достаточно таких рисунков, чтобы человек всё понял и принял решение обдуманно. Строительство не мой профиль и подсказать по учебникам не могу. По диффузии пара советую К. Шпайдель Диффузия и конденсация водяного пара в ограждающих конструкциях. Материал изложен просто, доступно и воспринимается легко. По умолчанию базовые знания по теплотехническому расту зданий уже имеются. О , так з цього потрібно було починати зразу , типу : я в будівництві не спеціаліст , але думаю що потрібно зробити так то і так. Тоді і питань до вас не буде. Дякую , Шпайделя почитаю (якщо знайду) , але це все лушпиння. Дайте ,будь-ласка, відповіді на питання , на ті дописи де в кінці стоїть значок питання. Посилання на коментар Поділитися на інших сайтах More sharing options...
Андрій Миколайович Опубліковано: 21 лютого 2024 Автор Поділитись Опубліковано: 21 лютого 2024 17 годин тому, SAN67 сказав: Нет. Обрати внимание, что пароизоляция уложена кое- как и между предыдущим слоем и пароизоляцией недопустимое множество воздушных карманов. Между отделочным слоем и пароизоляцией не должно быть никакой обрешётка. Отделочный слой должен плотно прилегать к пароизоляции, т.е. обрешётка должна быть закрыта пароизоляцией, а места крепления пароизоляции должны быть проклеены металлизированным скотчем. Наличие воздуха между пароизоляцией и прилегающими слоями делает наличие пароизоляции не просто бессмысленной, а вредной,т.к. в воздушных карманах будет происходить скопление влаги. Це щось дуже дивне і не зрозуміле якщо чесно. Як ви собі уявляєте наприклад монтаж гіпсокартону під пароізоляцію без повітряних карманів? Посилання на коментар Поділитися на інших сайтах More sharing options...
SAN67 Опубліковано: 21 лютого 2024 Поділитись Опубліковано: 21 лютого 2024 21 минуту назад, Dendnepr сказал: если за гипсокартоном на пароизоляции будет вдруг конденсат - значит недостаточное утепление. Несколько не так. При проникновении в воздушный карман в любом случае будет происходить снижение плотности насыщенного водяного пара, т.к. с разных сторон слоя будет разное парциальное давление. 18 минут назад, andrey_ka сказал: типу : я в будівництві не спеціаліст Я не каменщик, я не плотник, я не дизайнер, я не архитектор. Так понятно? Но в том, что пишу я разбираюсь, т.к. это моя работа. 3 минуты назад, Андрій Миколайович сказал: монтаж гіпсокартону під пароізоляцію Никак. Отделочный слой укладывается на пароизоляцию, а обрешётка под пароизоляцию. Для понимания Посилання на коментар Поділитися на інших сайтах More sharing options...
andrey_ka Опубліковано: 21 лютого 2024 Поділитись Опубліковано: 21 лютого 2024 8 хвилин тому, SAN67 сказав: Я не каменщик, я не плотник, я не дизайнер, я не архитектор. Так понятно? Но в том, что пишу я разбираюсь, т.к. это моя работа. Я так розумію відповідей на питання не буде! 37 хвилин тому, Андрій Миколайович сказав: Це щось дуже дивне і не зрозуміле якщо чесно. Як ви собі уявляєте наприклад монтаж гіпсокартону під пароізоляцію без повітряних карманів? Немає тут нічого дивного , так зробити можна , і навіть буде дешевше , ніж у класичному варіанті. Але стверджувати , що не можна залишати повітряний прошарок між ПІ та ГК , тут дійсно дивно. Утеплення , пароізоляція оздоблення , у данному випадку вагонка але можна замінити і на ГК. Посилання на коментар Поділитися на інших сайтах More sharing options...
Dendnepr Опубліковано: 21 лютого 2024 Поділитись Опубліковано: 21 лютого 2024 я так понимааю, что теперь все подвесные, натяжны потолки - вне закона? SAN67 лично запретил!!! 1 2 Посилання на коментар Поділитися на інших сайтах More sharing options...
Dendnepr Опубліковано: 21 лютого 2024 Поділитись Опубліковано: 21 лютого 2024 (змінено) у меня так вообще - пароизоляция в слое теплоизоляции потом просто агроволокно, чтоб вата не пылила Змінено 21 лютого 2024 користувачем Dendnepr Посилання на коментар Поділитися на інших сайтах More sharing options...
Андрій Миколайович Опубліковано: 21 лютого 2024 Автор Поділитись Опубліковано: 21 лютого 2024 (змінено) 1 годину тому, andrey_ka сказав: Я так розумію відповідей на питання не буде! Немає тут нічого дивного , так зробити можна , і навіть буде дешевше , ніж у класичному варіанті. Але стверджувати , що не можна залишати повітряний прошарок між ПІ та ГК , тут дійсно дивно. Утеплення , пароізоляція оздоблення , у данному випадку вагонка але можна замінити і на ГК. тут все гарно виглядає, але я клеїв оту синю стрічку невеликими шматочками тільки в тих місцях де прикручував обрешітку. Бо ось так цілими полосками - це мегаперерозхід стрічки зря. Змінено 21 лютого 2024 користувачем Андрій Миколайович Посилання на коментар Поділитися на інших сайтах More sharing options...
SAN67 Опубліковано: 21 лютого 2024 Поділитись Опубліковано: 21 лютого 2024 2 часа назад, Dendnepr сказал: я так понимааю, Нет. Не понимаете. Я никому ничего не навязываю. Я написал как сделать грамотно, а дальше каждый сам решит как поступить. 12 часов назад, andrey_ka сказал: Тобто пар проходить через ГК , і в просторі між ГК і пароізоляцією охолоджується та конденсується ? Ответил. 12 часов назад, andrey_ka сказал: Яким чином він охолоджується , адже вище пароізоляції утеплювач який цьому перешкоджає ? Ответил. Если вы не поняли, то я не виноват. 12 часов назад, andrey_ka сказал: Ви можете надати посилання на такі норми ? IMHO Вопрос сформулирован некорректно. У меня нет ответа. Посилання на коментар Поділитися на інших сайтах More sharing options...
shneider_vova Опубліковано: 21 лютого 2024 Поділитись Опубліковано: 21 лютого 2024 Це якась реінкарнація "Наблюдателя" ТС - не звертайте уваги 3 2 Посилання на коментар Поділитися на інших сайтах More sharing options...
andrey_ka Опубліковано: 21 лютого 2024 Поділитись Опубліковано: 21 лютого 2024 1 година тому, Андрій Миколайович сказав: тут все гарно виглядає, але я клеїв оту синю стрічку невеликими шматочками тільки в тих місцях де прикручував обрешітку. Бо ось так цілими полосками - це мегаперерозхід стрічки зря. Звісно в вашому випадку клеїти суцільними полосами , то даремно. Та тут ситуація інша , до того ж з одного рулона виходило в два рази більше полос (так як розрізався повздовж). І якщо врахувати вартість та монтаж дошок , то виходить на порядок дешевше. Посилання на коментар Поділитися на інших сайтах More sharing options...
Андрій Миколайович Опубліковано: 21 лютого 2024 Автор Поділитись Опубліковано: 21 лютого 2024 Наступний крок - напевно планування та влаштування чорнової електрики. І тут щось я розгубився, за що братись ... Посилання на коментар Поділитися на інших сайтах More sharing options...
shneider_vova Опубліковано: 21 лютого 2024 Поділитись Опубліковано: 21 лютого 2024 4 хвилини тому, Андрій Миколайович сказав: Наступний крок - напевно планування та влаштування чорнової електрики. І тут щось я розгубився, за що братись ... 1) план меблювання 2) план електроприладів 3а) план розводки 3б) схема щитка 2 Посилання на коментар Поділитися на інших сайтах More sharing options...
Рекомендовані повідомлення
Створіть акаунт або увійдіть у нього для коментування
Ви маєте бути користувачем, щоб залишити коментар
Створити акаунт
Зареєструйтеся для отримання акаунта. Це просто!
Зареєструвати акаунтУвійти
Вже зареєстровані? Увійдіть тут.
Увійти зараз