trik Опубліковано: 4 січня 2015 Поділитись Опубліковано: 4 січня 2015 Кстати проезжал сегодня мимо радиорынка. Прикупил 300ВТ-ных полевиков что бы хоть как то подтянуть мощность дешевого китайского инвертора к нарисованным 1000вт на корпусе. Разговаривал с мотальщиками трансов. 3кВт на железном торе обещают сделать за 2000грн. Думаю это не предел и есть еще куда поторговаться. Ну а если руки прямые и времени куча то можно и самому намотать. По материалам, если все купить, грубо в 1000грн вложиться можно. Посилання на коментар Поділитися на інших сайтах More sharing options...
ДмиртийВ Опубліковано: 4 січня 2015 Поділитись Опубліковано: 4 січня 2015 Кстати проезжал сегодня мимо радиорынка. Прикупил 300ВТ-ных полевиков что бы хоть как то подтянуть мощность дешевого китайского инвертора к нарисованным 1000вт на корпусе. Разговаривал с мотальщиками трансов. 3кВт на железном торе обещают сделать за 2000грн. Думаю это не предел и есть еще куда поторговаться. Ну а если руки прямые и времени куча то можно и самому намотать. По материалам, если все купить, грубо в 1000грн вложиться можно. мне проще у меня трансы в наличии, только со вторичкой поиграться . Осталось определится со схемой и можно экспериментировать . диодов тиристоров и транзисторов хватает в избытке. Есть пару старых сварочных трансформаторов, так чо и проволки достаточно. Пришли китайские инверторы на 3 кВт обошлись 135 долларов. Хочу поиграться с сетевыми фильтрами. Посилання на коментар Поділитися на інших сайтах More sharing options...
4587derek Опубліковано: 4 січня 2015 Поділитись Опубліковано: 4 січня 2015 везде на схемах полумостовой инвертор, тут ещё нужно боротся со сквозными токами силовых ключей. Промышленные иверторы собирают в основном на полно - мостовом инверторе. когдато в журнале радиохооби, году так в 2000, была схемка инвертора на киловатт, там как раз были применены тиристоры в полумостовом инверторе, и обратная связь по выходному напряжению. 1 Посилання на коментар Поділитися на інших сайтах More sharing options...
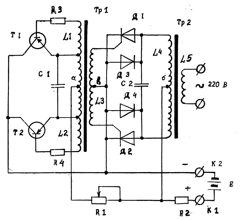
ДмиртийВ Опубліковано: 5 січня 2015 Поділитись Опубліковано: 5 січня 2015 везде на схемах полумостовой инвертор, тут ещё нужно боротся со сквозными токами силовых ключей. Промышленные иверторы собирают в основном на полно - мостовом инверторе. когдато в журнале радиохооби, году так в 2000, была схемка инвертора на киловатт, там как раз были применены тиристоры в полумостовом инверторе, и обратная связь по выходному напряжению. Насколько я понял вот эта схемка: Посилання на коментар Поділитися на інших сайтах More sharing options...
4587derek Опубліковано: 5 січня 2015 Поділитись Опубліковано: 5 січня 2015 tehnoarhiv.ru/rh/2003-03.djvu страница 18 2 Посилання на коментар Поділитися на інших сайтах More sharing options...
ДмиртийВ Опубліковано: 6 січня 2015 Поділитись Опубліковано: 6 січня 2015 Чо то не могу скачать ни на одном из сайтов. Может у кого получилось? Посилання на коментар Поділитися на інших сайтах More sharing options...
tosat Опубліковано: 6 січня 2015 Поділитись Опубліковано: 6 січня 2015 У меня даже на ipade получилось, вот схема: 1 Посилання на коментар Поділитися на інших сайтах More sharing options...
ДмиртийВ Опубліковано: 6 січня 2015 Поділитись Опубліковано: 6 січня 2015 Бредовая схемка. здесь полевики стоят чоб отбиваь тиристоры. Легче поставить несколько полевиков. Пока альтернативы тиристорному полумосту не нашел и просто и на выходе хоть кривая но синусоида. мелкие проблемки уже решил как сделать, а вот основная-как его остановить, ведь если убрать управляющий сигнал ло он просто зависнет. Точнее один из тиристоров. Остается только механически размыкать питание, а это по моим подсчетам может быть до 200А. Посилання на коментар Поділитися на інших сайтах More sharing options...
trik Опубліковано: 6 січня 2015 Поділитись Опубліковано: 6 січня 2015 (змінено) мелкие проблемки уже решил как сделать, а вот основная-как его остановить, ведь если убрать управляющий сигнал ло он просто зависнет. Точнее один из тиристоров. Остается только механически размыкать питание, а это по моим подсчетам может быть до 200А. А если питание подавать еще через один мощный тиристор? Сам себе и отвечу. Не лучшая идея. Падение напряжения до 2в... Вот неплохой "букварь для чайников" по тиристорам человек написал. ЗЫ! Провел испытания отремонтированного и модернизированного старого, мелкого, китайского инвертора. От случая к случаю он у меня работал почти 7 лет. В нем вылетел конденсатор, за собой потянул один из 4-х транзисторов на низкой стороне DC/DC инвертора. Так как хитрые китайцы поставили туда не понятно что да еще и маркировку напильником затерли, раньше наугад поставил вместо дохлого IRF34N, из того что валялось дома. Но инвертор стал слабоватым. Появилось время, купил 4шт IRF3808 (330Вт как никак) и поставил их в инвертор. Еще немного добавил олова на дорожки, в некоторых местах. carousel.dropbox.com/photos/cc/kGZ4AU3wKSn4HG0 Счас проводил тесты. Болгарка на 900вт работает, но под нагрузкой инвертор вылетает в защиту. Перфоратор на 650вт мучил минут 10. Низковольтная сторона инвертора холодная вообще. Чуть теплой осталась высоковольтная та что собрана на 10-ти амперных IRF740. Пока менять их не буду. Сомневаюсь что 2 не больших трансформатора смогут выдать на гора токи способные их "угреть". Змінено 6 січня 2015 користувачем trik 1 Посилання на коментар Поділитися на інших сайтах More sharing options...
ДмиртийВ Опубліковано: 6 січня 2015 Поділитись Опубліковано: 6 січня 2015 А если питание подавать еще через один мощный тиристор? Сам себе и отвечу. Не лучшая идея. Падение напряжения до 2в... Вот неплохой "букварь для чайников" по тиристорам человек написал. ЗЫ! Провел испытания отремонтированного и модернизированного старого, мелкого, китайского инвертора. От случая к случаю он у меня работал почти 7 лет. В нем вылетел конденсатор, за собой потянул один из 4-х транзисторов на низкой стороне DC/DC инвертора. Так как хитрые китайцы поставили туда не понятно что да еще и маркировку напильником затерли, раньше наугад поставил вместо дохлого IRF34N, из того что валялось дома. Но инвертор стал слабоватым. Появилось время, купил 4шт IRF3808 (330Вт как никак) и поставил их в инвертор. Еще немного добавил олова на дорожки, в некоторых местах. carousel.dropbox.com/photos/cc/kGZ4AU3wKSn4HG0 Счас проводил тесты. Болгарка на 900вт работает, но под нагрузкой инвертор вылетает в защиту. Перфоратор на 650вт мучил минут 10. Низковольтная сторона инвертора холодная вообще. Чуть теплой осталась высоковольтная та что собрана на 10-ти амперных IRF740. Пока менять их не буду. Сомневаюсь что 2 не больших трансформатора смогут выдать на гора токи способные их "угреть". Еще один тиристор не получится. Тиристоры если работают от сети то все в порядке, даже если и от выпрямителя на постоянном токе. Но стоит только подключить их к батареи они перестают запираться и в некоторых случаях выходят со строя.Получается использовать тиристор на питание нельзя- он просто не вырубит его. Запереть на постоянке тиристор можно только коротким замыканием или понижением напряжения на самом тиристоре. Я смотрел несколько преобразователей на тиристорах. Штука сверх надежная. Используются в связи и в очень тяжелых условиях. В быту не применялись так как уж много проблем. Выпускать может то же накладно. Видел характеристику преобразователя с мощностью 3.5 кВт вес 700 кг.Но не убиваем. Подобные схемы типа инверторов в нашей жизни то же сверх надежные- Тролейбусы трамваи поезда. Приводы электро моторов. Работают вечно и почти по том же принцыпу. Фото сборки выше чо я выкладывал то же с какого то частотника. Лазил по форумах пока никто не делал инверторы на тириках. Ну уж очень заманчиво. Если получится то инвертору нестрашно почти ничего, ни короткое, ни дуга. Потери по сравнению с китаем соизмеримые. в автономке дешевле поставить лишнюю батарею чем купить дорогой инвертор. В тиристорном инверторе больше будут жрать вспомогательные системы чем сам преобразователь. Мне для первых опытов не хватает чуть дроселей. Звоню всем друзьям. Стягиваем все чо у кого есть . притащили 2 старых сварочника на проволку. Трансов больших уже есть 4 штуки, нет маленьких, хочу военных зеленых. Тириков штук 100 есть. Соберу и буду начинать. Схемки 2 есть, одна приснилась, и потом нашел ее в нете, Если б не приснилась то никогда б не нашел. Одним словом дом начинает походить на лабораторию. Посилання на коментар Поділитися на інших сайтах More sharing options...
trik Опубліковано: 6 січня 2015 Поділитись Опубліковано: 6 січня 2015 Соберу и буду начинать. Схемки 2 есть, одна приснилась, и потом нашел ее в нете, Если б не приснилась то никогда б не нашел. Выкладывайте схему обсудим... В мультисиме помоделим ее. Посилання на коментар Поділитися на інших сайтах More sharing options...
ДмиртийВ Опубліковано: 8 січня 2015 Поділитись Опубліковано: 8 січня 2015 Есть чуть времени решил поиграться с инвертором Пока готовлю стандартные детали. Со схемой до конца не определился. Исходя из расчетов тех деталей чо есть инвертор будет иметь если запустится такие характеристики: Мощность номинальная 1.5 кВт. Длительные перегрузки до 1 часа-3 кВт Кратковременные перегрузки 3-5 мин-4-5 кВт Будет стоять 2 защиты по входному и выходному напряжению. Цепи стабилизации. Сетевые фильтра. Навскидку такая машинка будет весить около 80 кг. Ну а если не получится то отрицательный результат то то же результат. Посилання на коментар Поділитися на інших сайтах More sharing options...
APS_UPS Опубліковано: 10 січня 2015 Поділитись Опубліковано: 10 січня 2015 В связи с нынешней сложной энергетической обстановкой в стране, очень интересует вопрос о универсальном инверторе большой мощности 10 000 Вт и более. Можно ли собрать подобный девайс из запчастей дома? Собрать можно конечно, только нет смысла - дешевле будет не очень, а надежность слабая. Китай давно делает недорогие и надежные инверторы. Обычное исполнение - до 6 кВт. Можно увеличить мощность, разделив нагрузки (фазы) и установить несколько инверторов, но какая же при этом будет емкость, размер и стоимость батареи - страшно подумать. Недорогой надежный инвертор можно найти, например тут (ссылка устарела). 1 Посилання на коментар Поділитися на інших сайтах More sharing options...
ДмиртийВ Опубліковано: 11 січня 2015 Поділитись Опубліковано: 11 січня 2015 Собрать можно конечно, только нет смысла - дешевле будет не очень, а надежность слабая. Китай давно делает недорогие и надежные инверторы. Обычное исполнение - до 6 кВт. Можно увеличить мощность, разделив нагрузки (фазы) и установить несколько инверторов, но какая же при этом будет емкость, размер и стоимость батареи - страшно подумать. Недорогой надежный инвертор можно найти, например тут (ссылка устарела). Продавец????? Посилання на коментар Поділитися на інших сайтах More sharing options...
Dalet Опубліковано: 11 січня 2015 Поділитись Опубліковано: 11 січня 2015 APS_UPS, чё Пульсар уже завез? Посилання на коментар Поділитися на інших сайтах More sharing options...
trik Опубліковано: 11 січня 2015 Поділитись Опубліковано: 11 січня 2015 Цены подупали немного. 3квт уже 600уе. Год назад просили чуть ли не в раза дороже. Но заработать сейчас 600 наверное сложнее чем год назад 1000. Посилання на коментар Поділитися на інших сайтах More sharing options...
Dalet Опубліковано: 11 січня 2015 Поділитись Опубліковано: 11 січня 2015 Цены подупали немного. 3квт уже 600уе. Год назад просили чуть ли не в раза дороже. Но заработать сейчас 600 наверное сложнее чем год назад 1000. ну можно и дешевле привезти, это не проблема, проблема что потом с этим всем делать. у меня, например только дорожают, китайци на 20% подняли цену, говорят что новый транс, плати больше, я пока плачу. а так хочешь дешевле, соберут дешевле Посилання на коментар Поділитися на інших сайтах More sharing options...
APS_UPS Опубліковано: 12 січня 2015 Поділитись Опубліковано: 12 січня 2015 APS_UPS, чё Пульсар уже завез? Да нет, Пульсар еще не завез..... да и цены там на 70-80% выше... Посилання на коментар Поділитися на інших сайтах More sharing options...
Dalet Опубліковано: 12 січня 2015 Поділитись Опубліковано: 12 січня 2015 Да нет, Пульсар еще не завез..... да и цены там на 70-80% выше... Ну по Пульсару понятно, там хоть офис есть. А у Вас как с сервисом, гарантией, ну там посмотреть пощупать можно подьехать куда-то? А через год? -возможна дальнейшая комплектация данной системы солнечными батареями для заряда аккумуляторов. - а как организовывается? -возможен автоматический запуск генератора при исчерпании запаса батарей. - какой алгоритм работы? Посилання на коментар Поділитися на інших сайтах More sharing options...
ДмиртийВ Опубліковано: 12 січня 2015 Поділитись Опубліковано: 12 січня 2015 А если питание подавать еще через один мощный тиристор? Сам себе и отвечу. Не лучшая идея. Падение напряжения до 2в... Вот неплохой "букварь для чайников" по тиристорам человек написал. ЗЫ! Провел испытания отремонтированного и модернизированного старого, мелкого, китайского инвертора. От случая к случаю он у меня работал почти 7 лет. В нем вылетел конденсатор, за собой потянул один из 4-х транзисторов на низкой стороне DC/DC инвертора. Так как хитрые китайцы поставили туда не понятно что да еще и маркировку напильником затерли, раньше наугад поставил вместо дохлого IRF34N, из того что валялось дома. Но инвертор стал слабоватым. Появилось время, купил 4шт IRF3808 (330Вт как никак) и поставил их в инвертор. Еще немного добавил олова на дорожки, в некоторых местах. carousel.dropbox.com/photos/cc/kGZ4AU3wKSn4HG0 Счас проводил тесты. Болгарка на 900вт работает, но под нагрузкой инвертор вылетает в защиту. Перфоратор на 650вт мучил минут 10. Низковольтная сторона инвертора холодная вообще. Чуть теплой осталась высоковольтная та что собрана на 10-ти амперных IRF740. Пока менять их не буду. Сомневаюсь что 2 не больших трансформатора смогут выдать на гора токи способные их "угреть". Интересно , а если эти монстрики www.imrad.kiev.ua/catalog/igbt_tranzistor/218658 засунуть в какую -нибудь примитивную схемку типа:radiolub.chat.ru/IBP/pow_ibp.htm схемка2, Кстати и здесь диодики. играюсь пока с тиристорами, спалил уже несколько и также несколько проводов. КПД тиристоров в этой схемке маленький 60 процентов и намучался пока заработала, но работает. Посилання на коментар Поділитися на інших сайтах More sharing options...
trik Опубліковано: 12 січня 2015 Поділитись Опубліковано: 12 січня 2015 (змінено) Интересно , а если эти монстрики www.imrad.kiev.ua/catalog/igbt_tranzistor/218658 засунуть в какую -нибудь примитивную схемку типа:radiolub.chat.ru/IBP/pow_ibp.htm схемка2, Кстати и здесь диодики. играюсь пока с тиристорами, спалил уже несколько и также несколько проводов. КПД тиристоров в этой схемке маленький 60 процентов и намучался пока заработала, но работает. Монстрики можно взять на меньшее напряжение. Ну никчему низковольтную часть качать IGBT-шками на 1200В. Будет значительно дешевле и не так обидно если спалите. ИМХО велосипед давно придуман и не нами. Если бы на тиристорах можно было сделать эффективный бюджетный инвертор то китайцы просто бы завалили нас этим добром. Почитав пару недель инфу по инверторам, прихожу к выводу что если сильно хочется, дома имеет смысл сделать инвертор на большом низкочастотном трансе на 50Гц и квадратом на выходе. Ниче выдумывать тут не нужно, все стандартное. 2 микросхемки Шим на TL494, драйвера на затворы IR2110 Несколько в параллель хороших Мосфетов или IGBT с запасом по току и защитами в обвязке. Вот примерно что то похожее. gauss2k.narod.ru/jab/ims02.htm Змінено 12 січня 2015 користувачем trik 1 Посилання на коментар Поділитися на інших сайтах More sharing options...
ДмиртийВ Опубліковано: 12 січня 2015 Поділитись Опубліковано: 12 січня 2015 (змінено) Собрать можно конечно, только нет смысла - дешевле будет не очень, а надежность слабая. Китай давно делает недорогие и надежные инверторы. Обычное исполнение - до 6 кВт. Можно увеличить мощность, разделив нагрузки (фазы) и установить несколько инверторов, но какая же при этом будет емкость, размер и стоимость батареи - страшно подумать. Недорогой надежный инвертор можно найти, например тут (ссылка устарела). У меня товарищ один из самых авторитетных автономщиков в Украине,- многие знают корабль Нептун в Страхолесье. пообщался с ним на счет китайских инверторов и остаюсь при своем мнении- китай годится только для аварийного питяния, если жить без розетки, то надо таких по 6 кВт 4 штуки чоб пока одни ремонтировались другие работали. Одним словом буду паять дальше, Даже если кпд составит 70-80 процентов, но это будет деревянный инвертор, и надежный, то он будет для меня предпочтительнее. Добавлено через 8 минут Монстрики можно взять на меньшее напряжение. Ну никчему низковольтную часть качать IGBT-шками на 1200В. Будет значительно дешевле и не так обидно если спалите. Мне здесь не напряжение нравится, а токи. есть ли чо низковольтовое чо держит такие токи? Змінено 12 січня 2015 користувачем ДмиртийВ Посилання на коментар Поділитися на інших сайтах More sharing options...
4587derek Опубліковано: 12 січня 2015 Поділитись Опубліковано: 12 січня 2015 зачем в низковольтных цепях IGBT ? там и N-канальных полевиков хватит, если так хочется привязатся к низковольтному питанию, типа 12-24 вольта, то можна и ККМ по входу поставить, который поднимет до 36-48 вольт, хотя думаю лучше сразу на 48 вольт делать. можна купить плату от APC smart UPS 2200, переписать в 3000, а трансформатор можна и намотать самому. 1 Посилання на коментар Поділитися на інших сайтах More sharing options...
ДмиртийВ Опубліковано: 12 січня 2015 Поділитись Опубліковано: 12 січня 2015 зачем в низковольтных цепях IGBT ? там и N-канальных полевиков хватит, если так хочется привязатся к низковольтному питанию, типа 12-24 вольта, то можна и ККМ по входу поставить, который поднимет до 36-48 вольт, хотя думаю лучше сразу на 48 вольт делать. можна купить плату от APC smart UPS 2200, переписать в 3000, а трансформатор можна и намотать самому. И сколько полевиков на 10 кВт нужно? Че то с полевиков держит 300А? Посилання на коментар Поділитися на інших сайтах More sharing options...
4587derek Опубліковано: 12 січня 2015 Поділитись Опубліковано: 12 січня 2015 к примеру АПС смарт упс 1500, 24 вольта, мостовой инвертор, по два полевика в паралель в 220 корпусе, у более старых по 4 полевика в паралель. при испытаниях глубинного насоса от смарта, ток с АКБ был 47А. Посилання на коментар Поділитися на інших сайтах More sharing options...
Рекомендовані повідомлення
Створіть акаунт або увійдіть у нього для коментування
Ви маєте бути користувачем, щоб залишити коментар
Створити акаунт
Зареєструйтеся для отримання акаунта. Це просто!
Зареєструвати акаунтУвійти
Вже зареєстровані? Увійдіть тут.
Увійти зараз