S1LENCE Опубліковано: 12 квітня 2015 Автор Поділитись Опубліковано: 12 квітня 2015 Христос воскрес! Вітаю всіх, бажаю смачних свячених страв, здоров'я, гарних свят та побудувати все, що задумали цього року! (ссылка на изображение устарела) 2 Посилання на коментар Поділитися на інших сайтах More sharing options...
S1LENCE Опубліковано: 16 квітня 2015 Автор Поділитись Опубліковано: 16 квітня 2015 Якась нестиковка в інструкції від Аерок: На цьому малюнку потрібно армувати передостанній ряд під вікном: А на цьому малюнку останній: Питання то критичне, прийшлось уточнювати. Зателефонував в офіс продаж Стоунлайт (скоро їхні блоки і приїдуть) - вони сказали останній ряд під вікном. Подивився пару звітів форумчан - передостанній ряд. Знайшов інструкцію від Н+Н - там чітко з малюнками видно, що передостанній ряд. Так і будемо робити. Перший, четвертий (передостанній під вікнами), 8й ряд лише на довгих стінах, і 13й ряд. По 2 арматури ф8 для стін 30, 40см і 1 арматурина дял стіни 20см. 1 Посилання на коментар Поділитися на інших сайтах More sharing options...
irobots Опубліковано: 16 квітня 2015 Поділитись Опубліковано: 16 квітня 2015 То у аэрока рисунок с ошибкой. Правильно армировать ряд на который уже будет ложится подоконник для перераспределения давления с боковин окна на подоконную зону. Это сбережет от трещин по бокам окна от разницы нагрузок. Многие армируют и прдпоследний ряд, думаю, это делают, чтобы закрыть арматуру от ржавления. Глеб гринфельд (технолог аэрок из спб) говорил, что можно и так. Советую не играться с цементным раствором, а пользовать клей при армировке. Перед заливкой канавки хорошенько смочите водой. Да и блоки не мешает окунать в ванночку перед укладкой (особенно в жару и солнце) +убирается пыль. Блоки пооткрывайте заранее - они станут намного легче и крепче. В хороший день в нижних рядах я клал 5 кубов. За вечер после работы на высоте в по кубу. Некоторые ряды можно класть на ребро с перевязкой в два ряда для закрытия швов и без вертикального клеевого шва. Сверху на такие ряды блоки укладывать плашмя. Я делал окна после 4 ряда везде, кроме кухни совмещенной с залом. На кухне окна на высоте 1 метр (после 5го ряда). Чтобы спать споконо на кухне кинул арматурку и после 5го ряда в районе окон Посилання на коментар Поділитися на інших сайтах More sharing options...
Vikctor Опубліковано: 16 квітня 2015 Поділитись Опубліковано: 16 квітня 2015 То у аэрока рисунок с ошибкой. Правильно армировть ряд на который уже будет ложится подоконник для перераспределения давления с боковин окна на подоконную зону А перлы так и прут. Я в своё время созванивался с Аэроковским технологом, списывался на форумхаусе в Итонговским технологом. Оба указали - армируется последний шов под оконным проёмом. Так что всё правильно ТС задумал. И там не "боковины окна" и их давления критичны, а внецентренные нагрузки, которые неизбежно возникают в проёмах, могущие привести к трещинам. Т.е. не оконные рамы со СП давят, а вес всех стен, перекрытий, кровли и т.п. Посилання на коментар Поділитися на інших сайтах More sharing options...
S1LENCE Опубліковано: 16 квітня 2015 Автор Поділитись Опубліковано: 16 квітня 2015 То у аэрока рисунок с ошибкой. Правильно армировать ряд на который уже будет ложится подоконник для перераспределения давления с боковин окна на подоконную зону. Советую не играться с цементным раствором, а пользовать клей при армировке. Перед заливкой канавки хорошенько смочите водой. Да и блоки не мешает окунать в ванночку перед укладкой +убирается пыль Та ні, все таки правильно так: Чистити кожний ряд будемо гарно, думаю пилюки багато не буде. 1 Посилання на коментар Поділитися на інших сайтах More sharing options...
irobots Опубліковано: 16 квітня 2015 Поділитись Опубліковано: 16 квітня 2015 Ели кто и знает, то разработчик альбомов тех решений. Прочтите последние строки и можете погуглить кто такой Глеб "Грин" forum.aeroc.ru/viewtopic.php?f=20&t=3287 ------------------ Армирование кладки в подоконной зоне проводить непосредственно в последнем ее ряду или под ним? Да как вам будет удобней. Мне представляется предпочтительным последний ряд, в числе прочего и возможностью визуального контроля уложенной арматуры. ------------------ Чистить ряды то само собой. Чтобы не чистить укладываемые блоки их можно кунать в ванночку. В жару они аж шипят от впитывания влаги и как бонус очищаютя от пыли Посилання на коментар Поділитися на інших сайтах More sharing options...
sashkaa Опубліковано: 17 квітня 2015 Поділитись Опубліковано: 17 квітня 2015 Та ні, все таки правильно так: Чистити кожний ряд будемо гарно, думаю пилюки багато не буде. Так потому как у YTONGA именно так, а остальные уже брали у них Посилання на коментар Поділитися на інших сайтах More sharing options...
Алекс Епик Опубліковано: 17 квітня 2015 Поділитись Опубліковано: 17 квітня 2015 Да и блоки не мешает окунать в ванночку перед укладкой Я просто мазал щеткой автомобильной ! Не представляю как ето окунать в ванночку !!! Посилання на коментар Поділитися на інших сайтах More sharing options...
S1LENCE Опубліковано: 17 квітня 2015 Автор Поділитись Опубліковано: 17 квітня 2015 Вчора замовив дерево на дах. З сьогоднішніми хаотичними цінами (наприклад на дерево я зустрічав ціни від 1400 до 3000 грн за куб) дуже багато часу йде на пошук матеріалу. 1 Посилання на коментар Поділитися на інших сайтах More sharing options...
irobots Опубліковано: 17 квітня 2015 Поділитись Опубліковано: 17 квітня 2015 Я просто мазал щеткой автомобильной ! Не представляю как ето окунать в ванночку !!! Ненужная детская ванночка. Воды достаточно сантиметров 5-10 Посилання на коментар Поділитися на інших сайтах More sharing options...
S1LENCE Опубліковано: 17 квітня 2015 Автор Поділитись Опубліковано: 17 квітня 2015 Ненужная детская ванночка. Воды достаточно сантиметров 5-10 І блок має підсушитись? Сьогодні дивився відео, там розповідали, що клей погано пристає, якщо поверхню змочити водою Посилання на коментар Поділитися на інших сайтах More sharing options...
irobots Опубліковано: 17 квітня 2015 Поділитись Опубліковано: 17 квітня 2015 І блок має підсушитись? Сьогодні дивився відео, там розповідали, що клей погано пристає, якщо поверхню змочити водою я так делал в жаркую погоду. Без смачивания клей моментально высыхал - трудно было работать и невозможно корректировать. Сушить блоки начинайте как можно раньше тогда они станут заметно легче (по ощущениям кил на 8 легче сушеный) и крепче (свежие блоки с только что открытых палет легко мнут углы даже когда их берешь с палеты). А что думаете о кладке на ребро? Можно так сделать второй-третий ряд. Клея на этот дойной идет в два раза меньше по сравнению с обычной кладкой и работа идет в два раза быстрее. Вложу фотку чтобы было понятно что я имею ввиду 1 Посилання на коментар Поділитися на інших сайтах More sharing options...
S1LENCE Опубліковано: 17 квітня 2015 Автор Поділитись Опубліковано: 17 квітня 2015 я так делал в жаркую погоду. Без смачивания клей моментально высыхал - трудно было работать и невозможно корректировать. Сушить блоки начинайте как можно раньше тогда они станут заметно легче (по ощущениям кил на 8 легче сушеный) и крепче (свежие блоки с только что открытых палет легко мнут углы даже когда их берешь с палеты). А что думаете о кладке на ребро? Можно так сделать второй-третий ряд. Клея на этот дойной идет в два раза меньше по сравнению с обычной кладкой и работа идет в два раза быстрее. Я сподіваюсь, що в травні ще так жарко не буде. Рекомендуєте всі привезені одразу розпакувати, щоб сушились? Посилання на коментар Поділитися на інших сайтах More sharing options...
irobots Опубліковано: 17 квітня 2015 Поділитись Опубліковано: 17 квітня 2015 Я сподіваюсь, що в травні ще так жарко не буде. Рекомендуєте всі привезені одразу розпакувати, щоб сушились? я в мае у нас обычно уже сгорал (сегодня можно было работать в майке и такой день не первый), но как в Киеве не в курсе. Если палеты стоят на ровной поверхности (нет опасности падения) и не планируете их перевозить или переставлять краном то их нужнот открыть оставиви шапочку из пленки сверху (я не оставлял). Сейчас уже точно не помню, но даже за неделю в сухую погоду блоки становятся заметно легче. Пила у вас с победитовыми напайками? Терки мы закупали отдельно и прикручивали к дощечке с ручкой из доски 50х50мм. Если надо - дам телефон где заказывал полотна (покупал у производителя). 1 Посилання на коментар Поділитися на інших сайтах More sharing options...
S1LENCE Опубліковано: 17 квітня 2015 Автор Поділитись Опубліковано: 17 квітня 2015 Так, в Києві зараз теж дні, коли +20, але побачимо, що буде на початку травня. По інструментам для ГБ. Збирав я його довго... Спочатку купив каретку на 400мм у форумчанина goga777, за що йому вдячний. На заводі Аерок купив кутник, киянку і ковш 200мм. Щітку в епіцентрі. Для різки блоків і штроб купив те, що використовував форумчанин Vikctor. Сабельна пила і штроборіз ТЕМП сподіваюсь не підведуть. Залишились терки... І тут як раз Ви пишете про них, а я думав їх шукати на цих вихідних, тому було б добре мати контакти. Посилання на коментар Поділитися на інших сайтах More sharing options...
blacktigra Опубліковано: 19 квітня 2015 Поділитись Опубліковано: 19 квітня 2015 Можно и я тут поумничаю? Если блоки раскрыть сразу, то они начнут сохнуть сразу. Это как бы плюс - они чуток легче, и дом быстрее высыхает. Но в то же время, как нас учит гугл, гидратация цемента без воды невозможна. Т.е. чем дольше мы задерживаем влагу в клее, тем прочнее он становится. Как пример - накрывание пленкой стяжки, чтобы дольше не высыхала. И в этом нам поможет еще влажный заводской блок. Я у себя на стройке заметил - выступивший клей из швов на первом этаже, который клали из свежих влажных блоков сейчас очень твердый и прочный. А на фронтонах, которые я клал в жару из подсохших за год блоков, клей хрупкий даже спустя полгода. Это при том, что я перед кладкой поливал ГБ водой. Кстати, на мокрый ГБ клей наносить нежелательно - лучше смачивать блоки заранее, чтобы они были просто чуть влажными. Короче я бы не раскрывал раньше времени. Хозяйке на заметку - если упаковку от ГБ не резать по хардкору, а аккуратно и в одном месте - то получаются приличные куски прочной, долговечной, УФ-устойчивой пленки, которые потом еще много где могут пригодиться. И еще. Я с уважением отношусь к Игорехе, но до сих пор не могу понять стремление других форумчан следовать его примеру в том, как крепить крайние стропила на фронтонных свесах. Вот честное слово, интересно. Например, в вашем проекте, S1LENCE, господин Антон показал, что мауэрлат и прогоны выходят на n-ное расстояние за фронтон, и на них чудесно ложится последняя стропильная пара. Зачем усложнять себе жизнь? Добавлено через 2 минуты Залишились терки... І тут як раз Ви пишете про них, а я думав їх шукати на цих вихідних, тому було б добре мати контакти. Мне понравилась терка "для пенопласта", она так и называется в строительных магазинах. Похожа на крупную кухонную терку. Только блин подорожали они вместе с курсом. 3 Посилання на коментар Поділитися на інших сайтах More sharing options...
Vikctor Опубліковано: 20 квітня 2015 Поділитись Опубліковано: 20 квітня 2015 мауэрлат и прогоны выходят на n-ное расстояние за фронтон, и на них чудесно ложится последняя стропильная пара. Зачем усложнять себе жизнь? Тут разумеется на вкус и цвет...Но лично мне в двускатках тоже нравятся мощные красиво окрашенные прогоны+мауэрлаты , выходящие наружу. Особенно когда как-то этот треугольник (конёк + прогоны) вверху обыгрывают на польский манер - солнышко по-моему называется. У ТС мауэрлаты 100*150. На мой взгляд смотреться не будут. Хозяйке на заметку - если упаковку от ГБ не резать по хардкору, а аккуратно и в одном месте - то получаются приличные куски прочной, долговечной, УФ-устойчивой пленки, которые потом еще много где могут пригодиться. До сих пор юзаю свои куски плёнки от ГБ, но аккуратно их резать у меня терпения не хватало. Мне понравилась терка "для пенопласта", она так и называется в строительных магазинах. Похожа на крупную кухонную терку. Только блин подорожали они вместе с курсом. Таких у меня ушло 3 или 4. Она для грубых работ, когда ошибся в подрезке и нужно сточить 20-30мм. Для тонких работ - финишной доводки края - мне больше нравилась фирменная тёрка от Аэрок. Они продают (продавали?) пластиковую тёрку с приклеенной снизу наждачной бумагой. Когда стирается наждачка, то просто приклеиваешь новую. Посилання на коментар Поділитися на інших сайтах More sharing options...
blacktigra Опубліковано: 20 квітня 2015 Поділитись Опубліковано: 20 квітня 2015 Таких у меня ушло 3 или 4. Она для грубых работ, когда ошибся в подрезке и нужно сточить 20-30мм. Ну, если ей пилить ГБ, то тогда конечно их не напасешься. У меня одной хватило на 70 кубов. Под конец она подуставшая, но шлифануть поверхность блока перед кладкой - нормально. 1 Посилання на коментар Поділитися на інших сайтах More sharing options...
S1LENCE Опубліковано: 20 квітня 2015 Автор Поділитись Опубліковано: 20 квітня 2015 blacktigra, дякую, неодмінно скористаюсь Вашими порадами! По фронтонному звісу - мені навіть перший про них розповів Микола Крышник, потім я вже знайшов схему від Игорехи. Мені такий підшитий дах більше подобається, без виступаючих мауерлатів і прогонів. По теркам все ще шукаю... Зараз дійсно найпопулярніший варіант - це "терка для пінопласту", як кухонна: Таку навіть від Аерока продають. Але на скільки я зрозумів - це для "легких" робіт, а для важких є рубанок: "Кухонна" поки що більш всього подобається. P.S. сьогодні знову все в снігу було зранку... коли це закінчиться? Посилання на коментар Поділитися на інших сайтах More sharing options...
irobots Опубліковано: 21 квітня 2015 Поділитись Опубліковано: 21 квітня 2015 Ну, если ей пилить ГБ, то тогда конечно их не напасешься. У меня одной хватило на 70 кубов. Под конец она подуставшая, но шлифануть поверхность блока перед кладкой - нормально. Ого! Можно покупать терки для пенопласта с ручкой в строительном магазине, но я считаю, что лучше купить отдельно полотна у производителя терочных полотен и прикрутить полотно тремя саморезами к дюймовке. Преимущество доски как основания для полотна терки перед пластиковой покупной теркой в ее жесткоти (покупная терка не имеет ровную плоскость), что хорошо сказывается на эксплуатации. Когда пользуешься старой теркой и потом берешь новую, то это в сравнении как небо и земля. Пока не возьмешь новое полотно не понимаешь насколько ужасно было шлифовать старым. Я бы может и очень долго шлифовал одной теркой, но когда полотна можно купить недорого (покупал за доллар/шт), то их стоит менять почаще (я бы менял каждые один-два ряда) + терками можно подшлифовать стены перед шпатлевкой. P/S ну а паллеты я бы открывал минимум за неделю-две до использования. Иначе вы можете мять углы блока даже при взятии с паллеты и корячиться с большим весом. В жару вода полностью впитывается/испаряется в течении пары минут даже в щедро залитые канавки для армирования. Добавлено через 6 минут рубанок не нужен вообще. Если стачивать нужно больше 0,5см то можно и подпилить. 1 Посилання на коментар Поділитися на інших сайтах More sharing options...
blacktigra Опубліковано: 21 квітня 2015 Поділитись Опубліковано: 21 квітня 2015 Можно покупать терки для пенопласта с ручкой в строительном магазине, но я считаю, что лучше купить отдельно полотна у производителя терочных полотен и прикрутить полотно тремя саморезами к дюймовке. Если поделитесь информацией о том, где можно купить такие полотна - многие будут вам благодарны. Посилання на коментар Поділитися на інших сайтах More sharing options...
irobots Опубліковано: 22 квітня 2015 Поділитись Опубліковано: 22 квітня 2015 Если поделитесь информацией о том, где можно купить такие полотна - многие будут вам благодарны. 067-3621613 я тут заказывал полотна точно такие как на этой терке (ссылка на изображение устарела) сейчас цена вроде как 12 грн. Если закупать то лучше скопом, т.к. они запасов вроде не держат, а штампуют под заказ. Если что, я могу выслать свои лишние поштучно по доллару (сам брал так себе 2 года назад и пока осталось с пол ящика). Если что-могу и такую же ручку как на картинке найти (где-то валяется на стройке), но она мне не понравилась. (ссылка на изображение устарела) 2 Посилання на коментар Поділитися на інших сайтах More sharing options...
S1LENCE Опубліковано: 22 квітня 2015 Автор Поділитись Опубліковано: 22 квітня 2015 Так і є. Вже замовив. 9 полотен за ціною однієї терки 1 Посилання на коментар Поділитися на інших сайтах More sharing options...
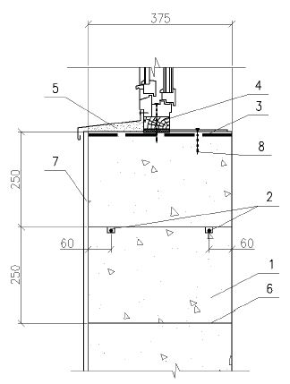
S1LENCE Опубліковано: 23 квітня 2015 Автор Поділитись Опубліковано: 23 квітня 2015 Перед тим, як робити закладні для решіток потрібно було визначитись наскільки глибоко розміщати вікно в стіні. Зателефонував до інженерів Рехау, які порахували, що якщо будуть утеплені відкоси і з одношаровою стіною в 40см розміщення вікна посередині з виступом назовні буде нормальним. Малюнок краще пояснить фразу, описану вище Єдине цікавить, чи 4-5см між вікном і решіткою нормально буде? Посилання на коментар Поділитися на інших сайтах More sharing options...
S1LENCE Опубліковано: 27 квітня 2015 Автор Поділитись Опубліковано: 27 квітня 2015 Всім привіт! А Ви вже встигли загоріти після цих вихідних? Або згоріти... По класичній схемі (втрамбований грунт - 50 піску - вода - 50 щебню) зробили подішку для стяжки гаражу. Було: Стало: Тепер гараж готовий прийняти цеглу і газоблоки. 2 Посилання на коментар Поділитися на інших сайтах More sharing options...
Рекомендовані повідомлення
Створіть акаунт або увійдіть у нього для коментування
Ви маєте бути користувачем, щоб залишити коментар
Створити акаунт
Зареєструйтеся для отримання акаунта. Це просто!
Зареєструвати акаунтУвійти
Вже зареєстровані? Увійдіть тут.
Увійти зараз